8 Protection des parties indépendantes de la couverture
8.1 Définition
Les parties indépendantes de la couverture sont les maçonneries (recouvrements d'entablement, de couronnement de murs, de joint de dilatation à double costière, d'appuis de baie, et autres petits ouvrages…) et leur protection est réalisée par des bandes de recouvrement en acier inoxydable qui reposent sur un support dont la pente rejette l'eau à l'extérieur de l'ouvrage recouvert.
Les recouvrements peuvent être réalisés suivant les spécifications des systèmes de couverture à tasseau ou joint debout avec une pente minimale de 1 % ou selon les spécification ci-après.
Il convient de s'assurer que la pente permet l'écoulement d'eau.
8.2 Supports
La pente du support doit être de 0,010m/m (1 %) au minimum. La forme de pente est réalisée soit en mortier de ciment (Figure 127a), soit en bois (Figure 127b).
Dans le cas de travaux de réfection, les formes de pente en plâtre sont admises sur les ouvrages en pierre en respectant les temps de séchage nécessaires.  : Couverture par grands éléments en feuilles et bandes en acier inoxydable/NF DTU 40.44 P1-1 (juillet 2007)/image/fig_AARI_1_126.png)
Figure 126 Formes de pente en mortier (a) ou en bois (b)
8.3 Bande de recouvrement
8.3.1 Généralités
Les bandes de recouvrement sont généralement posées par bout de 1,00 m de longueur. Toutefois, suivant le système de jonction, la largeur de l'élément, le système de fixation et la situation climatique du chantier, il est possible de les réaliser en longueurs supérieures n'excédant pas 2,00 m (voir 8.3.3.1.2).
Les éléments de recouvrement de mur peuvent être exécutés en longueur supérieure en faisant appel à des joints de dilatation faisant l'objet d'Avis Technique 3 visant la pose de recouvrement du mur en acier inoxydable ; il convient de se reporter aux prescriptions de mise en oeuvre spécifiques définies dans l'Avis Technique 3.
Ou son équivalent dans les conditions indiquées dans l'avant-propos.
Ces bandes sont réalisées en acier inoxydable de 0,40 mm d'épaisseur nominale minimale et elles comportent :
-
en tête :
soit un ourlet saillant (Figure 128a) ;
soit un relief dont la hauteur varie suivant l'ouvrage sur lequel il s'appuie sans être inférieure à 0,035 m (Figures 131a et b). Cependant, dans le cas du recouvrement de bandeau de largeur inférieure ou égale à 0,40 m, la hauteur du relief peut être portée à 0,020 m.
soit une pince plate dans le cas d'une engravure de 0,010 m de hauteur, réalisée dans un ouvrage de maçonnerie en pierre.
-
à l'égout :
soit un ourlet faisant saillie de 0,035 m sur la rive extérieure et maintenu par une bande d'agrafe (Figure 127a) ;
soit par un larmier dont la saillie est réduite par rapport à la rive extérieure. Ce larmier peut être complété par une bande de rive protégeant le parement (Figure 127b). Le larmier peut comporter une pince ou un ourlet rechassé. Il doit dépasser de 0,010 m l'épaisseur du couronnement (Figures 128a et b).
La forme et l'assemblage des bandes de recouvrement sont déterminés par la largeur de l'ouvrage.  : Couverture par grands éléments en feuilles et bandes en acier inoxydable/NF DTU 40.44 P1-1 (juillet 2007)/image/fig_AARI_1_127.png)
Figure 127 Exemple de larmier
 : Couverture par grands éléments en feuilles et bandes en acier inoxydable/NF DTU 40.44 P1-1 (juillet 2007)/image/fig_AARI_1_128.png)
Figure 128 Exemple de larmier
8.3.2 Fixations
Suivant leur forme, les bandes de recouvrement sont fixées à raison de 2,5 pattes au mètre :
-
en tête :
soit par clouage ;
soit par bande d'agrafe ;
soit par pattes agrafées ou par pattes à tasseaux.
-
à l'égout :
soit par bande d'agrafe, dans ce cas la finition en tête doit comporter un relevé (Figures 127a et 131b) ;
soit par patte clouée ou soudée et/ou agrafée sur un pontet soudé ou cloué, ou par clips cloué (Figures 128a, 128b, 129a et 129b).
8.3.2.1 Bande d'agrafe
La bande d'agrafe fait généralement 0,100 m de largeur ; elle est posée par bout de 0,200 m à 0,500 m de longueur, l'intervalle entre deux bouts ne dépassant pas 0,010 m.
Elle est fixée par clouage dans la maçonnerie directement, par tamponnage ou sur un taquet encastré.
Elle est soit en acier inoxydable de 0,40 mm d'épaisseur nominale minimale, soit en tôle d'acier galvanisé (Z275 minimum) de 0,63 mm d'épaisseur nominale minimale.
8.3.2.2 Pattes et pontets
Les pattes et les pontets de fixation sont en acier inoxydable de 0,40 mm d'épaisseur nominale minimale ou en acier inoxydable de 0,50 mm d'épaisseur nominale uniquement pour les clips de fixation d'ourlet.
Ils sont cloués ou soudés, leur nombre ne doit être pas inférieure à 2,5 pattes, ou pontets ou clips au mètre linéaire (0,40 m d'axe en axe).
8.3.3 Acrotère, entablement, bandeau, souche, tête de mur simple (sans joint de dilatation)
8.3.3.1 Couronnement de largeur ≤ 0,40 m
-
En tête, ourlet saillant et bande d'agrafe.
Le recouvrement s'exécute par bande de 1,00 m de longueur assemblées par coulisseaux plats et terminées, en tête, par un ourlet saillant ou une bande d'agrafe et à l'égout par un larmier à pince ou à ourlet rechassé.
Des pattes fixées sur la face verticale du couronnement maintiennent le larmier à pince ou à ourlet rechassé (Figures 128a et 128b) ; les pattes sont agrafées sur des pontets soudés (Figure 129a) ; on peut également fixer l'ourlet à l'aide d'un clip en acier inoxydable cloué sur le parement (Figure 129b). Les assemblages se font par coulisseaux plats, en deux parties, pour permettre l'agrafage.
 : Couverture par grands éléments en feuilles et bandes en acier inoxydable/NF DTU 40.44 P1-1 (juillet 2007)/image/fig_AARI_1_129.png)
Figure 129 Ourlet rechassé maintenu par patte clouée agrafée sur pontet (a) ou maintenu par clip (b)
 : Couverture par grands éléments en feuilles et bandes en acier inoxydable/NF DTU 40.44 P1-1 (juillet 2007)/image/fig_AARI_1_130.png)
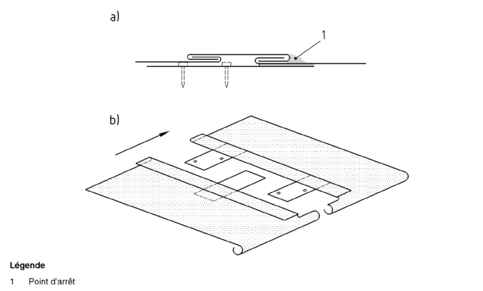
Figure 130 Jonction par coulisseau plat
Les bandes comportent de chaque côté une pince de 0,015 m sous lesquelles on soude des pattes une ou deux suivant la largeur. Elles sont clouées d'un côté celles du bout suivant étant glissées sous la pince de la bande précédente, ensuite le coulisseau plat est agrafé aux éléments et enroulés en tête et/ou à l'égout sur les ourlets des recouvrements après que ses pinces aient été supprimées (Figures 130a et b).
Lorsqu'il n'y a pas de couronnement, la face intérieure de l'acrotère doit être recouverte par une jouée en acier inoxydable, raccordée à la couverture (voir 7.3 et 7.3.4).
-
En tête, tasseau et couvre-joint et bande de rive
L'ourlet côté extérieur peut être remplacé par un tasseau avec couvre-joint et bande de rive. Dans ce cas, le larmier à pince ou à ourlet rechassé du côté de la toiture peut être remplacé par un ourlet saillant avec bande d'agrafe (Figure 131b).
Dans le cas d'entablement de fenêtre, l'étanchéité en tête, au raccordement avec le mur vertical, peut être obtenue par une bande à rabattre, une bande de solin ou par engravure de 0,040 m de la bande dans la maçonnerie, avec hauteur de relief de 0,020 m (Figure 131c).
Les assemblages se font par coulisseaux plats en trois (Figure 131a) ou deux (Figure 131b) parties ; les bandes de recouvrement sont fixées côté tasseau par des pattes à tasseaux tous les 0,40 m et côté égout soit par des pattes ou clips (Figure 129a et b) soit par bande d'agrafe (Figure 132b), et à la jonction comme indiqué aux Figures 130a et 130b. La bande rive est fixée comme indiqué au 5.3.8.3 et les couvre-joints comme indiqué au 5.3.4.2.
Pour éviter le glissement des coulisseaux plats, on doit mettre un point d'arrêt par soudure en partie inférieure qui est toujours réalisé sur le côté des pattes clouées sur le couronnement (Figure 130a).
 : Couverture par grands éléments en feuilles et bandes en acier inoxydable/NF DTU 40.44 P1-1 (juillet 2007)/image/fig_AARI_1_131.png)
Figure 131 Recouvrement avec tasseau et bande de rive en tête
8.3.3.2 Couronnement de largeur > 0,40 m et ≤ 0,80 m
Seule la solution b du 8.3.3.1 est admise, l'assemblage entre les bandes est réalisée par coulisseau saillant à développement carré (Figure 132) ou couvre-joint à plastron (Figure 133).
Dans ce cas, il faut fixer sur la maçonnerie un tasseau de 0,025 m × 0,025 m (Figure 132) ou de 0,025 m × 0,035 m (Figure 133) avec deux tasseaux suivant la largeur du couronnement, entablement, etc.
Les bandes de recouvrement sont façonnées avec des reliefs latéraux de 0,020 m de hauteur, les angles entre les reliefs de tête et les reliefs latéraux et les contre-talons sont soudés (Figures 132 et 133).
Les coulisseaux à développement carré et les couvre-joints à plastron ont des têtes et talons soudés.
Les bandes de recouvrement sont fixées en tête et latéralement par les pattes à tasseaux et à l'égout soit par bande d'agrafe dans le cas d'ourlet saillant, soit par patte ou clip dans le cas de larmier à ourlet rechassé (Figures 129a et 129b).
Les coulisseaux à développement carré sont coulissés dans les pattes à tasseau (Figure 132) et les couvre-joints à plastron sont fixés par des pattes soudées sur la bande de recouvrement (Figures 133).
La bande de rive et les couvre-joints de tête sont posés comme indiqué au 8.3.3.1 « b ».
Lorsque la largeur au couronnement est > 0,40 m et ≤ 0,60 m, les bandes de recouvrement peuvent être posées en éléments de deux mètres de longueur à condition que :
les fixations en tête et à l'égout permettent les mouvements thermiques (clouage interdit) ;
les jonctions soient réalisées à coulisseau saillant à développement carré ou couvre-joint à plastron, en ménageant un jeu de 2,5 mm de part et d'autre du tasseau (Figures 132 et 133), ou éventuellement selon les techniques de couverture à tasseaux et couvre-joints ou à joint debout ;
la construction soit édifiée en site de vent protégé ou normal et de hauteur inférieure ou égale à 28 m.
Figure 132 Coulisseau à développement carré
Figure 133 Couvre-joint à plastron
8.3.3.3 Couronnement de largeur > 0,80 m
Le couronnement doit comporter deux pentes (Figure 126b) de longueur inférieure à 0,80 m. A la jonction des deux pentes est placé un tasseau et le recouvrement est traité comme indiqué au 8.3.3.2.
8.3.4 Tête de mur double (avec joint de dilatation)
Le recouvrement est traité comme au 8.3.3.3 en plaçant le tasseau sur l'un des versants à proximité du joint de dilatation (Figure 134). Les jonctions entre bandes de recouvrement sont exécutées suivant leur largeur, suivant les 8.3.3.1 « a » ou « b » et 8.3.3.2 (Figures 130, 132 et 133).
-
Lorsque le couronnement a une largeur au plus égale à 0,50 m, le tasseau et le couvre-joint peuvent être remplacés par un coulisseau à soufflet. Toutefois, cette exécution ne peut être réalisée qu'à deux conditions :
l'acrotère est dans un site protégé ou normal et sur un ouvrage de hauteur inférieure à 28 m ;
le joint de dilatation ne comporte pas de retour (Figure 135).
 : Couverture par grands éléments en feuilles et bandes en acier inoxydable/NF DTU 40.44 P1-1 (juillet 2007)/image/fig_AARI_1_134.png)
Figure 134 Tête de mur double avec joint de dilatation et tasseau et couvre-joint
 : Couverture par grands éléments en feuilles et bandes en acier inoxydable/NF DTU 40.44 P1-1 (juillet 2007)/image/fig_AARI_1_135.png)
Figure 135 Tête de mur double avec joint de dilatation et coulisseau à soufflet