10 Dispositions parasismiques
10.1 Conditions d'application
Cet article précise les conditions d'application de la norme NF EN 1998-1 avec son annexe nationale française (NF EN 1998-1/NA) pour les ossatures en éléments industrialisés en béton. Les dispositions y figurant concernent les ouvrages pour lesquels les dispositions parasismiques sont requises.
10.2 Bâtiments dont le contreventement est assuré par des poteaux encastrés en pied et articulés en tête
10.2.1 Typologie et mode de fonctionnement
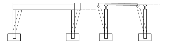
Les têtes de poteau sont liaisonnées à des poutres porteuses par des articulations linéaires ou des rotules. Le fonctionnement des bâtiments vis-à-vis des actions sismiques horizontales est schématisé en figure 34.  : Ossatures en éléments industrialisés en béton/NF DTU 23.3 P3 (juin 2008)/image/fig_ABLL_1_34.png)
Figure 34 Fonctionnement des bâtiments vis-à-vis des actions sismiques horizontales
La régularité de la structure doit être évaluée en élévation et en plan conformément à l'article 4.2.3 de la norme NF EN 1998-1 avec son annexe nationale française (NF EN 1998-1/NA).
L'attention est attirée sur les bâtiments avec mezzanine partielle, pont roulant, charge localisée importante, etc., potentiellement irréguliers.
Les bâtiments répondant aux conditions décrites en 10.2.2.1 du présent document peuvent généralement être considérés comme réguliers.
10.2.1.1 Bâtiments à 1 niveau
On distingue deux cas :
le cas ou la toiture est rigide et travaille en poutre horizontale indéformable dans les deux directions (éléments rigides de toiture ou palées de contreventement dans le plan de la toiture sur toute la longueur du bâtiment et dans les deux directions) ;
dans les autres cas la toiture est considérée comme non rigide.
10.2.1.2 Bâtiments avec mezzanine
Lorsque le bâtiment présente un niveau intermédiaire (partiel ou total), les planchers conditionnent le déplacement des poteaux au niveau considéré. Seules les structures dont les liaisons poteau-plancher sont articulées sont considérées ici.
Le mode de fonctionnement des bâtiments avec mezzanine suppose une toiture rigide.
Des poteaux intermédiaires s'arrêtant au niveau mezzanine peuvent être intercalés aux poteaux principaux. Lorsque les poteaux intermédiaires participent au contreventement, le bâtiment doit être considéré comme irrégulier en élévation.
10.2.1.3 Dimensions des poteaux
Le paragraphe 5.4.1.2 (1) de la norme NF EN 1998-1 s'applique compte tenu du complément pour les poteaux articulés en tête, précisé dans l'annexe nationale française (NF EN 1998-1/NA).
10.2.1.4 Mode d'assemblage et comportement du bardage
Le fonctionnement prévu de la structure ne doit pas être gêné par les éléments secondaires (paragraphe 4.2.2 de la norme NF EN 1998-1).
10.2.2 Analyse élastique linéaire
Le présent document traite de la mise en oeuvre de la méthode d'analyse par forces latérales au sens de la norme NF EN 1998-1 avec son annexe nationale française (NF EN 1998-1/NA). Lorsque les conditions d'applicabilité de cette méthode ne sont pas remplies, les méthodes générales (par exemple analyse modale) doivent être utilisées pour le calcul des sollicitations et des déplacements, les autres prescriptions du présent document demeurant applicables.
Pour les bâtiments sans mezzanine, le comportement dynamique est régi par un seul mode de vibration par direction horizontale. Dans ce cas, la méthode par force latérale et la méthode modale sont équivalentes.
10.2.2.1 Critère de régularité
10.2.2.1.1 Régularité en plan
Les critères de régularité en plan, définis à l'article 4.2.3.2 de la norme NF EN 1998-1 avec son annexe nationale française (NF EN 1998-1/NA) s'appliquent.
10.2.2.1.2 Régularité en élévation
Lorsque les poteaux ne comportent pas de changements de section dans leur hauteur, et sont continus depuis la fondation jusqu'à la toiture, les bâtiments peuvent être considérés comme réguliers en élévation au sens du paragraphe 4.2.3.3 de la norme NF EN 1998-1 avec son annexe nationale française (NF EN 1998-1/NA).
Lorsque le bâtiment comporte une mezzanine, il ne peut être considéré comme régulier en élévation que si la mezzanine couvre la totalité de la surface du bâtiment.
10.2.2.2 Masse prise en compte
Conformément à la norme NF EN 1998-1 et son annexe nationale française (NF EN 1998-1/NA), la masse mtot à retenir dans les calculs correspond à la combinaison d'actions suivante :  : Ossatures en éléments industrialisés en béton/NF DTU 23.3 P3 (juin 2008)/image/for_ABLL_1_45.png)
avec :
Gk,j valeur caractéristique (k) de l'action permanente (j). Dans le cas général, Il s'agit du poids propre supporté par les poteaux augmenté de la moitié du poids propre des poteaux ;
Qk,i la valeur caractéristique (k) de l'action variable (i) ;
ψE,i le coefficient de combinaison pour les actions variables (i). Ce coefficient est obtenu par le produit φ.ψ2i ; φ.ψ2i représente le coefficient de combinaison, pour la valeur quasi-permanente de l'action variable Qk,i et φ est un coefficient d'ajustement relatif à la concomitance des charges variables, dépendant de la catégorie du bâtiment ainsi que de la localisation de la charge dans le bâtiment.
-
cas des toitures rigides
Le calcul de mtot est effectué sur l'ensemble de la toiture
-
cas des toitures souples
Le calcul est effectué par descente de charges pour chaque file de poteaux i, dans les deux directions horizontales : mtot,i
-
cas des bâtiments à mezzanine
Le calcul est effectué pour le niveau mezzanine (m1tot) et le niveau toiture (m2tot).
10.2.2.3 Rigidité des poteaux
Conformément à l'article 4.3.1 (7) de la norme NF EN 1998-1 avec son annexe nationale française (NF EN 1998-1/NA), la rigidité des sections est prise forfaitairement égale à :  : Ossatures en éléments industrialisés en béton/NF DTU 23.3 P3 (juin 2008)/image/for_ABLL_1_46.png)
avec :
Ecm le module sécant de déformation du béton selon le paragraphe 3.1.3 de la norme NF EN 1992-1-1 avec son annexe nationale française (NF EN 1992-1/NA) ;
I le moment d'inertie de la section dans la direction sismique considérée ;
L la hauteur du poteau entre le point d'encastrement (à la sortie du fut d'encuvement) et le point d'application de l'effort horizontal considéré.
L'adoption d'une rigidité réduite pour les poteaux en béton précontraints suppose que les armatures passives les plus sollicitées de la face des poteaux présentent un allongement supérieur ou égal à 2,5 ‰ sous combinaison sismique ; dans le cas contraire R = E I.
10.2.2.4 Rigidité des fondations
En application de l'article 6 de la norme NF EN 1998-5 avec son annexe nationale française (NF EN 1998-5/NA), la souplesse apportée par les fondations doit être prise en compte lorsque le coefficient de sensibilité aux déplacements relatifs θ, déterminé en négligeant la rigidité de la fondation, sera supérieur à 0,2 (calcul de θ selon 10.2.2.7) ou en cas de sol qualifié comme mou (selon le paragraphe 3.1 de la norme NF EN 1992-1-1 avec son annexe nationale française (NF EN 1992-1-1/NA)).
S'il peut être démontré que la prise en compte de la souplesse des fondations, avec prise en compte des effets du second ordre conduit à un dimensionnement moins sécuritaire, cette prise en compte peut être omise dans les vérifications.
Les formules suivantes permettent de calculer la rigidité en rotation d'une semelle de dimension (a × b) sur un sol élastique :  : Ossatures en éléments industrialisés en béton/NF DTU 23.3 P3 (juin 2008)/image/fig_ABLL_1_35.png)
Figure 35 Détermination de la rigidité des fondations
avec : r et r' les rayons équivalents de la fondation, calculés par équivalence des moments d'inertie avec une semelle circulaire :
 : Ossatures en éléments industrialisés en béton/NF DTU 23.3 P3 (juin 2008)/image/for_ABLL_1_48.png)
G le module de cisaillement du sol, conformément au paragraphe 3.2 (1) de la norme NF EN 1998-5 avec son annexe nationale française :
Cette formule ne prend pas en compte la contribution éventuelle de longrines de redressement.
10.2.2.5 Rigidité latérale du bâtiment
La rigidité latérale de chaque poteau s'écrit, pour chaque direction :
où L' est la distance entre la semelle et le point d'application de l'effort horizontal considéré.
Lorsque la souplesse de la fondation peut être négligée, k = Kp.
La rigidité latérale totale ktot est la somme des rigidités latérales de tous les poteaux
10.2.2.6 Mode fondamental de vibration
Pour un bâtiment à un seul niveau à toiture rigide, la période fondamentale du bâtiment dans chaque direction sismique s'exprime par :
 : Ossatures en éléments industrialisés en béton/NF DTU 23.3 P3 (juin 2008)/image/for_ABLL_1_50.png)
Pour un bâtiment à un seul niveau à toiture souple, la période fondamentale de chaque file de poteaux dans chaque direction sismique (files courantes et files d'extrémité) s'exprime par :
 : Ossatures en éléments industrialisés en béton/NF DTU 23.3 P3 (juin 2008)/image/for_ABLL_1_51.png)
-
Pour les bâtiments avec mezzanine, réguliers en élévation, dont le rapport m1tot / m2tot est inférieur ou égal à 1,5, la période fondamentale dans chaque direction peut être approchée par application de la formule de Rayleigh :
où : d (en mètres) est le déplacement en tête de poteau sous l'effet d'une accélération égale à g exercée à l'horizontale et s'exprime par :
 : Ossatures en éléments industrialisés en béton/NF DTU 23.3 P3 (juin 2008)/image/for_ABLL_1_53.png)
L1 est la hauteur entre le point d'encastrement (sortie du fut d'encuvement) à l'appui de la mezzanine ;
L2 est la hauteur entre le point d'encastrement (sortie du fut d'encuvement) à la tête de poteau ;
R est la somme des rigidités en flexion des poteaux participant au contreventement (poteaux continus des fondations à la toiture (c.f 10.2.2.3)).
Lorsque le critère sur le rapport des masses n'est pas respecté, il convient d'effectuer un calcul spécifique.
La méthode par forces latérales est applicable si la période calculée respecte le critère défini en 4.3.3.2.1 (2) de la norme NF EN 1998-1 avec son annexe nationale française (NF EN 1998-1/NA).
10.2.2.7 Détermination du coefficient de comportement
Les structures poteaux poutres articulées en tête et encastrées en pied doivent être conçues avec des assemblages surdimensionnés au sens de 5.11.2.1.2 et 5.11.3.2 (3) de la norme NF EN 1998-1 avec son annexe nationale française (NF EN 1998-1/NA).
A défaut de justification particulière fondée sur un calcul de la ductilité en déplacement (par exemple effectué à l'aide de l'annexe E de la norme NF EN 1998-2 avec son annexe nationale française (NF EN 1998-2/NA)), les coefficients de comportement applicables q0 sont décrits dans le tableau 2, en fonction du type de structure et pour la classe de ductilité moyenne (DCM) au sens de la norme NF EN 1998-1 avec son annexe nationale française (NF EN 1998-1/NA).
Des pondérations sont définies dans le tableau 6 en fonction des systèmes qualité mis en place :
certification de produit délivrée par un organisme accrédité au sens de l'avant-propos et portant sur l'ensemble des exigences définies dans la norme NF EN 13225 ;
système qualité mis en place pour les étapes de conception et de mise en oeuvre.
La certification « Marque NF » ou son équivalent dans les conditions indiquées dans l'avant-propos, vaut la preuve de la justification pour la partie fabrication des éléments.
Le plan du système qualité portant sur la mise en oeuvre comprend la traçabilité des contrôles effectués sur le chantier, conformément à la partie 1 du présent NF DTU.
Pour les ossatures à poteaux en béton précontraint, un coefficient de pondération kBP est à appliquer en fonction du rapport (NEd + Pm,∞)/(Ac fcd)).
Conformément à l'article 5.2.2.2 (10) de la norme NF EN 1998-1 avec son annexe nationale française (NF EN 1998-1/NA), si un système qualité est mis en place pour les étapes de conception du bâtiment, de fabrication des éléments préfabriqués et de mise en oeuvre, le coefficient de comportement q0 peut être majoré de 10 %.
Lorsque les éléments d'ossature et leur mise en oeuvre ne sont pas couverts par un système qualité les valeurs du coefficient de comportement q0 indiquées dans le tableau 7 sont à pondérer par un facteur 0,8.
Lorsque seule la mise en oeuvre des éléments préfabriqués est couverte par un système qualité (voir NOTE 2 ci-dessus), les valeurs du coefficient de comportement q0 indiquées dans le tableau 7 sont à pondérer par un facteur 0,9.  : Ossatures en éléments industrialisés en béton/NF DTU 23.3 P3 (juin 2008)/image/tab_ABLL_1_6.png)
Tableau 6 Pondération du coefficient de comportement en fonction du système qualité
Conformément à l'article 5.11.1.4 (2) de la norme NF EN 1998-1 avec son annexe nationale française (NF EN 1998-1/NA), lorsque toutes ou partie des dispositions prévues dans le présent chapitre ne sont pas appliquées, la structure peut être vérifiée avec un coefficient de comportement q0 au plus égal à 1,5 ; ce mode de conception est assimilable à une conception pour une capacité de dissipation limitée et une classe de ductilité limitée (DCL) et est applicable uniquement à la zone de faible sismicité.  : Ossatures en éléments industrialisés en béton/NF DTU 23.3 P3 (juin 2008)/image/tab_ABLL_1_7.png)
Tableau 7 Coefficients de comportement q0
Le choix du coefficient de comportement implique que le ferraillage mis en oeuvre est dimensionné par le séisme, dans le cas contraire (vent, pont roulant, …), à défaut de satisfaire les critères de ductilité définis en 10.2.3.1 c), il convient d'adopter un coefficient de comportement plus faible.
Figure 36 Evolution du coefficient de pondération en fonction de l'effort normal réduit
Limitation des effets du second ordre :
Le coefficient de comportement de dimensionnement q doit permettre de satisfaire le critère de limitation de la sensibilité aux déplacements relatifs, défini à l'article 4.4.2.2 de la norme NF EN 1998-1 avec son annexe nationale française (NF EN 1998-1/NA). Pour les bâtiments sans mezzanine, ce critère s'exprime par :  : Ossatures en éléments industrialisés en béton/NF DTU 23.3 P3 (juin 2008)/image/for_ABLL_1_54.png)
Dans le cas de bâtiment à toiture non rigide, la vérification est effectuée par file de poteaux, en remplaçant ktot par ktot,i et mtot par mtot,i.
Pour les bâtiments avec mezzanine, les formules suivantes donnent l'expression du coefficient de sensibilité au déplacement relatif entre étages lorsque les poteaux sont de hauteur sensiblement identique :  : Ossatures en éléments industrialisés en béton/NF DTU 23.3 P3 (juin 2008)/image/for_ABLL_1_55.png)
10.2.2.8 Calcul des efforts sismiques
Lorsque la méthode par forces latérales est applicable, l'effort tranchant à la base Vtot s'écrit :
où Sd(T) est l'accélération spectrale de calcul (paragraphe 3.2.2.5 de la norme NF EN 1998-1 avec son annexe nationale française (NF EN 1998-1/NA).
Pour les bâtiments à toiture non rigide, le calcul est effectué pour chaque file i de poteaux selon les deux directions sismiques (mtot = mtot,i) ; pour les bâtiments avec mezzanine, mtot = m1tot + m2tot.
La répartition des efforts sur chaque poteau se fait au prorata de la raideur du poteau considéré par rapport à la raideur d'ensemble (bâtiment complet ou file de poteaux) ; pour les bâtiments avec mezzanine, la répartition des efforts peut être effectuée en adoptant l'hypothèse d'une déformée linéaire avec la hauteur.
Prise en compte des effets de torsion
Dans le cas de toiture rigide, la norme NF EN 1998-1 avec son annexe nationale française (NF EN 1998-1/NA) s'applique.
Dans le cas de toiture non rigide, l'analyse structurelle est effectuée en considérant dans chaque direction des files indépendantes de poteaux reliés entre eux par les poutres principales ou les pannes. La masse associée à chaque file est la masse résultant de la descente de charge avec une majoration de 10 % sur la charge appliquée pour tenir compte de l'excentricité accidentelle.
10.2.3 Dimensionnement des éléments sismiques primaires
Les poteaux doivent être dimensionnés en flexion pour les efforts résultant des combinaisons sismiques de calcul au sens de la norme NF EN 1998-1 avec son annexe nationale française (NF EN 1998-1/NA).
Pour les poteaux de section sensiblement carré, la direction la plus pénalisante est généralement la diagonale de la section transversale. Dans ce cas, le dimensionnement peut être considéré comme satisfaisant si le poteau résiste à un effort placé dans la direction de la diagonale, correspondant à l'effort maximal résultant des combinaisons sismiques dans les directions horizontales principales x ou y. L'application de 5.4.3.2.1 de la norme NF EN 1998-1 (2) avec le complément indiqué dans l'annexe nationale française (NF EN 1998-1/NA) permet de s'affranchir d'un calcul selon la diagonale.
Lorsque les effets du second ordre tels que définis au paragraphe 10.2.2.7 dépassent 10 % (cas général), le moment résistant doit permettre d'équilibrer le moment résultant de la combinaison sismique de calcul et des effets du second ordre.
Lorsque l'effort normal réduit (ν = NEd / (Ac fcd)) sur les poteaux est inférieur à 15 %, les effets du second ordre peuvent être pris en compte par la méthode des forces équivalentes, à défaut, un calcul complet est nécessaire :
Pour chaque point ou l'équilibre flèche δ — effort horizontal résistant VR1 est calculé au premier ordre, on déduit un effort horizontal générant un moment équivalent au moment du second ordre :  : Ossatures en éléments industrialisés en béton/NF DTU 23.3 P3 (juin 2008)/image/for_ABLL_1_57.png)
10.2.3.1 Confinement du béton dans les zones critiques
-
dispositions minimales
Selon la classe de ductilité choisie, un confinement minimal est à disposer sous forme d'armatures transversales, dans la zone critique à la base des poteaux de façon à satisfaire les ratios mécaniques minimaux d'armatures de confinement ωwd définis aux articles 5.4.3.2.2 (9) ou 5.5.3.2.2 (10) de la norme NF EN 1998-1 avec son annexe nationale française (NF EN 1998-1/NA), (figures 37 et 38).
 : Ossatures en éléments industrialisés en béton/NF DTU 23.3 P3 (juin 2008)/image/fig_ABLL_1_37.png)
Figure 37 Disposition des armatures transversales de confinement (cas a)
 : Ossatures en éléments industrialisés en béton/NF DTU 23.3 P3 (juin 2008)/image/fig_ABLL_1_38.png)
Figure 38 Disposition des armatures transversales de confinement (cas b)
Pour un poteau de section rectangulaire tel que représenté sur la figure 37 ou 38, le ratio mécanique des armatures de confinement ωwd s'écrit :
 : Ossatures en éléments industrialisés en béton/NF DTU 23.3 P3 (juin 2008)/image/for_ABLL_1_58.png)
-
Coefficient de ductilité en courbure
On définit le coefficient de ductilité en courbure μF conformément à l'article 5.2.3.4 (3) de la norme NF EN 1998-1 avec son annexe nationale française (NF EN 1998-1/NA) par :
avec (figure 39) : κu la courbure atteinte lorsque la limite de déformation du béton εcu ou de l'acier εsu est atteinte, limitée à la courbure correspondant à 85 % du moment résistant ;
κy la courbure atteinte lorsque le premier lit d'armatures atteint sa limite élastique.
 : Ossatures en éléments industrialisés en béton/NF DTU 23.3 P3 (juin 2008)/image/fig_ABLL_1_39.png)
Figure 39 Loi moment-courbure
Le comportement du béton confiné dans le noyau délimité par les armatures transversales peut être pris en compte dans les calculs conformément à 5.4.3.2.2 (7) de la norme NF EN 1998-1 avec son annexe nationale française (NF EN 1998-1/NA). Afin de disposer d'un modèle adapté au calcul de sections élancées, le modèle préconisé est celui de l'annexe E.2 de la norme NF EN 1998-2 avec son annexe nationale française (NF EN 1998-2/NA).
-
Vérification du critère de ductilité en courbure
La vérification du critère de ductilité en courbure tel que spécifiées à l'article 5.2.3.4 (3) et (4), de la norme NF EN 1998-1 avec son annexe nationale française (NF EN 1998-1/NA) s'effectue avec la valeur de base du coefficient de comportement q0 adopté pour le dimensionnement (paragraphe 10.2.2.7).
La vérification du critère de ductilité peut être effectuée par détermination de la courbe « moment — courbure » selon le paragraphe b ci-dessus en ajustant le ratio mécanique des armatures de confinement ωwd, ou par application des clauses 5.4.3.2.2 (7) et (8) ou 5.5.3.2.2 (8) et (9).
10.2.4 Dimensionnement en capacité
Le principe du dimensionnement en capacité, appliqué aux ossatures poteau-poutre encastrées en pied et articulés en tête consiste à éviter les ruptures fragiles et à favoriser la dissipation d'énergie par rotule de flexion dans des pieds de poteau.
Conformément aux articles 5.4.2.3 et 5.5.2.2 de la norme NF EN 1998-1 avec son annexe nationale française (NF EN 1998-1/NA), l'effort horizontal de calcul pris en compte pour le dimensionnement en capacité est égal, pour chaque poteau à :  : Ossatures en éléments industrialisés en béton/NF DTU 23.3 P3 (juin 2008)/image/for_ABLL_1_60.png)
avec :
MRc le moment résistant du poteau, compte tenu de l'effort normal de calcul NEd ;
γRd le coefficient de sur-résistance applicable selon l'élément à vérifier.
Le dimensionnement en capacité concerne :
les armatures d'effort tranchant dans les poteaux, conformément aux articles 5.4.2.3 et 5.5.2.2 de la norme NF EN 1998-1 avec son annexe nationale française (NF EN 1998-1/NA) ;
les encuvements des poteaux, considérés comme des assemblages surdimensionnés, conformément aux articles 5.11.2.1.2 et 5.11.3.2 (3) de la norme NF EN 1998-1 avec son annexe nationale française (NF EN 1998-1/NA) ;
les fondations conformément à l'article 4.4.2.6 de la norme NF EN 1998-1 et son annexe nationale française (NF EN 1998-1/NA) ;
les assemblages poteau-poutres et poutres-pannes.
La répartition de l'effort horizontal de calcul Vd, Vd1 ou Vd2 à chaque niveau est faite au prorata de la descente de charge sur les éléments. Vis-à-vis du dimensionnement des broches, un moment de renversement est pris en compte en plaçant l'effort horizontal au centre de gravité des éléments supportés (Figure 40).  : Ossatures en éléments industrialisés en béton/NF DTU 23.3 P3 (juin 2008)/image/fig_ABLL_1_40.png)
Figure 40 Effort horizontal de dimensionnement
Pour le dimensionnement des appuis, la rotation θd à prendre en compte en tête de poteau est prise égale à la rotation anélastique calculée avec ; la rotation élastique complétée par la rotation de la fondation, si elle ne peut être négligée (c.f.10.2.2.4).
L'expression de θd dans le cas d'un bâtiment à un seul niveau est :  : Ossatures en éléments industrialisés en béton/NF DTU 23.3 P3 (juin 2008)/image/for_ABLL_1_61.png)
Pour le dimensionnement des frettes et des broches en tête de poteau, l'effort horizontal Vd, Vd1 ou Vd2 est calculé avec γRd = 1,2.
10.2.5 Dispositions constructives
10.2.5.1 Poteaux
-
Armatures longitudinales
Pour les poteaux en béton précontraint le pourcentage minimal d'armatures longitudinales est : ρl,min = 500/fpk ( %).
-
Zones critiques des poteaux, armatures transversales de confinement
Le fonctionnement des poteaux en console avec absence de point de moment nul conduit à une zone critique en pied de poteau plus importante que pour les ossatures à encastrement en pied et en tête. La zone critique en pied est ainsi égale à :
 : Ossatures en éléments industrialisés en béton/NF DTU 23.3 P3 (juin 2008)/image/for_ABLL_1_62.png)
Avec Lc : hauteur totale du poteau considéré, depuis la sortie du plot d'encuvement.
Les armatures de confinement mises en place dans la zone critique doivent être prolongées jusqu'à l'extrémité du poteau située dans l'encuvement.
La zone située en tête de poteaux n'est pas considérée comme une zone critique.
10.2.5.2 Assemblages poteau — poutre
 : Ossatures en éléments industrialisés en béton/NF DTU 23.3 P3 (juin 2008)/image/fig_ABLL_1_41.png)
Figure 41 Exemple de détails d'assemblages poteau-poutre
-
Vérification de la déformabilité de l'assemblage
L'épaisseur ep de l'appareil d'appui disposé entre la poutre et la tête de poteau est telle que ep ≥ max (a θd, 5 mm), où a est la profondeur d'appui.
-
Dispositions concernant les broches
Sauf dans le cas où un agencement spécifique est conçu pour reprendre les efforts de renversement, les assemblages poteau poutre doivent présenter au moins 2 broches verticales dans un plan perpendiculaire à l'axe de la poutre (figure 41).
Les broches sont d'un diamètre minimal de 16 mm. Elles sont constituées d'acier à haute adhérence de classe de ductilité B ou C ou de tiges filetées de ductilité équivalente.
Elles sont dimensionnées pour les sollicitations combinées de cisaillement et de traction définies en 10.2.4.2, selon le principe du paragraphe 8.4.5 avec σs = fyk.
Les broches doivent être ancrées dans la tête de poteau et dans les fourreaux des poutres pour un effort (G + N). Dans le cas d'une liaison dans les ailes d'une poutre en I ou lorsque le blocage dans les fourreaux est effectué à l'aide de produit souple (joint de dilatation), une fixation non fragile par écrou doit être disposée.
-
Armatures de frettage des broches en tête de poteau
L'effort horizontal de dimensionnement est repris par des frettes disposées dans chaque direction sismique.
Les frettes sont déterminées conformément au paragraphe 8.3.4.
Dans la zone de frettage en tête de poteau, et de part et d'autre de la mezzanine éventuelle, le ratio mécanique des armatures de confinement (frettes comprises) ωwd doit être supérieur ou égal aux valeurs minimales définies pour les zones critiques des poteaux (voir article 5.4.3.2.2 (9) de la norme NF EN 1998-1 avec son annexe nationale française (NF EN 1998-1/NA)) sur une hauteur hc. Avec hc, dimension maximale de la section du poteau.
-
Armatures anti-fendage dans les poutres
Elles sont constituées par des boucles à plat disposées sur la hauteur de pénétration de la broche dans la poutre, elles reprennent la part d'effort horizontal de dimensionnement afférent à l'élément considéré.
10.2.5.3 Joints de dilatation
Les joints de dilatation sont généralement conçus comme des joints sismiques et délimitent à ce titre des blocs indépendants.
L'utilisation de matériau de remplissage viscoélastique de type bitume dans des assemblages brochés peut permettre, sur justifications spéciales, de réaliser un joint de dilatation sans création de joint sismique ; dans ce cas, les efforts de dimensionnement de l'assemblage doivent être majorés par un coefficient de surdimensionnement γRd = 2.  : Ossatures en éléments industrialisés en béton/NF DTU 23.3 P3 (juin 2008)/image/fig_ABLL_1_42.png)
Figure 42 Exemple de détails d'assemblages poteau-poutre sur joint de dilatation
10.2.5.4 Assemblages poteau — plot à encuvement
Les armatures longitudinales du poteau doivent être entièrement ancrées sur la hauteur de l'encuvement. L'encuvement doit être conçu de façon à assurer un encastrement rigide du pied de poteau.
10.2.5.5 Poutres
Le dimensionnement en capacité des zones d'assemblage poteau-poutre dispense de zone critique en extrémité de poutres.
10.2.5.6 Assemblages poutre-panne
La conception doit permettre de transférer les efforts horizontaux de dimensionnement aux poutres.  : Ossatures en éléments industrialisés en béton/NF DTU 23.3 P3 (juin 2008)/image/fig_ABLL_1_43.png)
Figure 43 Exemple de dispositions constructives (blocage par goujon)
10.3 Bâtiments dont le contreventement est assuré par des portiques
Les portiques sont constitués de poteaux préfabriqués ou coulés en place et de poutres préfabriquées avec ou sans dalle rapportée. Les assemblages sont réalisés par clavetage au droit des poteaux.
10.3.1 Coefficients de comportement
Conformément à 5.11.1.4 de la norme NF EN 1998-1 avec son annexe nationale française (NF EN 1998-1/NA), lorsque les assemblages sont surdimensionnés le coefficient de comportement à adopter est identique à celui des portiques en béton armé. Dans le cas contraire (lorsque les assemblages sont dimensionnés pour les sollicitations sismiques), les coefficients de comportement sont multipliés par 0,5.
Lorsque les poutres sont précontraintes, un coefficient minorateur égal à 2/3 est appliqué au coefficient de comportement.
10.3.2 Dispositions constructives
La figure suivante présente un exemple d'assemblage surdimensionné. Les armatures assurant le surdimensionnement sont ancrés dans une zone de transition de part et d'autre de l'assemblage, conformément à l'article 5.11.2.1.2 (3) de la norme NF EN 1998-1 avec son annexe nationale française (NF EN 1998-1/NA).  : Ossatures en éléments industrialisés en béton/NF DTU 23.3 P3 (juin 2008)/image/fig_ABLL_1_44.png)
Figure 44 Exemple de dispositions constructives (assemblages surdimensionnés). Cas de bâtiments dont le contreventement est assuré par des poteaux encastrés en pied et articulés en tête