5 Mise en oeuvre
Des croquis figurent au présent Cahier des clauses techniques pour aider à la compréhension du texte. Ils constituent des exemples indicatifs et non limitatifs de réalisation des ouvrages auxquels ils se rapportent.
5.1 Généralités
5.1.1 Systèmes de couverture
Les types de couvertures en zinc faisant l'objet du présent document sont les suivants :
couvertures en feuilles et longues feuilles à tasseaux et couvre-joints ;
couvertures en longues feuilles à joint debout.
On désigne par " couverture en feuilles " le système qui met en oeuvre des éléments de zinc laminé dont la longueur n'excède pas 3,00 mètres.
A l'intérieur de ces deux grands types, on distinguera les systèmes de jonctions définis dans le tableau 1 :
 : Couverture par éléments métalliques en feuilles et longues feuilles en zinc/DTU 40.41 (NF P34-211-1) (septembre 2004)/image/tab_AIW_1_1.png)
Tableau 1 Systèmes de jonctions transversales
5.1.2 Précautions d'emploi
5.1.2.1 revêtement d'aspect et protection éventuelle par peinture rapportée
Si un revêtement d'aspect ou une protection par peinture est demandé, les documents particuliers du marché préciseront la nature du revêtement ou de la protection désirée.
Un tel revêtement ne participe pas à l'étanchéité de la couverture.
5.1.2.2 contact avec les autres matériaux
Le contact zinc-fer (acier non protégé) est interdit, mais cette interdiction ne vise pas les clous de fixation.
Le contact zinc-cuivre est également interdit ; en conséquence, toutes les pattes de fixation en cuivre doivent être étamées.
Les contacts suivants sont admis : zinc-plomb, zinc-acier inoxydable, zinc-aluminium, zinc-étain, zinc-acier laqué et zinc-aluminium laqué.
5.1.2.3 contact avec les matériaux de gros oeuvre
Lorsqu'il s'agit d'un support en plâtre ou en mortier de ciment, le contact direct zinc-plâtre et zinc-mortier de ciment est interdit. Toutefois, ces interdictions ne s'appliquent pas aux ouvrages tels que solins, engravures...
5.1.2.4 contact avec les autres matériaux de couverture
Le zinc peut être mis en contact avec les autres matériaux de couverture : ardoise, tuiles de terre cuite, tuiles béton, bardeaux bitumés, lauzes, ardoises en fibres-ciment.
5.1.3 Etablissement du support de couverture en partie courante
5.1.3.1 supports en bois massif
5.1.3.1.1 éléments porteurs en voliges, frises et planches avec pose dite " jointive "
Les voliges, frises, et planches sont posées avec pose dite " jointive " (l'écartement est de 5 à 10 mm environ) et clouées sur les appuis. Le désaffleurement sans charge entre deux éléments voisins doit être inférieur à 2 mm (Figure 2).
 : Couverture par éléments métalliques en feuilles et longues feuilles en zinc/DTU 40.41 (NF P34-211-1) (septembre 2004)/image/fig_AIW_1_2.png)
Figure 2 Ecartement et désaffleurement entre deux éléments voisins - Pose jointive
L'écartement d'axe en axe des appuis ne peut dépasser 1,20 m. Chaque volige, frise ou planche doit reposer, en partie courante, sur au moins trois appuis.
La largeur minimale de repos sur les appuis est de 35 mm en partie courante et 30 mm en about des voliges, frises et planches.
Lorsque la largeur de l'élément de charpente est inférieur à 30 mm, il convient de rajouter des fourrures bois. Ces fourrures ne font pas partie du lot couverture.
L'interposition d'un élément intermédiaire (feutre ou film plastique) entre le zinc et le voligeage est interdit.
En ce qui concerne les portées maximales en fonction des charges et du principe de pose, on se reportera aux Tableaux 2 et 3 suivants.
Les Tableaux 2 et 3 sont applicables aux supports en bois résineux (sapin, épicéa, pin sylvestre). Les conditions d'emploi d'autres épaisseurs de supports et de charges supérieures ou non uniformément réparties peuvent être justifiées par le calcul.
NOTE 3 Dans le cas de pose effectuée en diagonale, on tient compte des portées réelles dans le sens du fil du bois.
 : Couverture par éléments métalliques en feuilles et longues feuilles en zinc/DTU 40.41 (NF P34-211-1) (septembre 2004)/image/tab_AIW_1_2.png)
Tableau 2 Voligeage jointif (applicable également aux frises et planches) - Entraxe maximal des appuis (cm) en fonction des charges descendantes 1) ou ascendantes 2) normales
5.1.3.1.2 plancher rainé-bouveté
Les dispositions applicables sont les suivantes :
 : Couverture par éléments métalliques en feuilles et longues feuilles en zinc/DTU 40.41 (NF P34-211-1) (septembre 2004)/image/tab_AIW_1_3.png)
Tableau 3 Plancher rainé-bouveté - Entraxe maximal des appuis (cm) en fonction des charges descendantes 1) ou ascendantes 2) normales
5.1.3.1.3 fixation des supports en bois massif sur la structure
-
Pose sur chevrons, pannes ou fourrures bois :
Les voliges, frises, planches et lames à plancher sont fixées par clouage au moyen de pointes définies au paragraphe 4.4.1 ou de vis à bois définies au paragraphe 4.4.3. Les pointes ou les vis sont disposées à raison de 2 par appui pour des largeurs d'élément à fixer inférieure ou égale à 105 mm et 3 pointes pour les largeurs supérieures jusqu'à 200 mm ; leurs têtes ne doivent pas désaffleurer.
On se référera à l'annexe D pour le choix des pointes en fonction des zones de vent, des situations et des hauteurs admissibles des ouvrages.
-
Pose sur pannes ou fourrures métalliques :
Les voliges, frises, planchers et lames à plancher sont fixés par vis autotaraudeuses ou autoperceuses-taraudeuses définies au paragraphe 4.4.2 et Ø ≥ 6 mm. Les vis sont disposées à raison de 2 par appui pour les largeurs jusqu'à 200 mm ; leurs têtes ne doivent pas désaffleurer.
Dans le cas de vis à têtes hexagonales ou munies d'une rondelle de répartition, il faut prévoir un avant-trou pour éviter tout désaffleurement. La longueur des vis devra permettre un dépassement d'environ 5 mm sous l'aile du profilé.
5.1.3.1.4 cas particulier de pose directe sur panne
Dans le cas de pose du support directement sur les pannes, on peut procéder de deux manières :
soit en plaçant les éléments du support en biais (45°) par rapport à l'égout et en tenant compte de l'entraxe réel des appuis (voir Note 3 paragraphe 5.1.3.1.1) ;
soit en plaçant les éléments du support perpendiculairement à l'égout et dans ce cas, on utilisera uniquement des planches ou lames à plancher rainées bouvetées (voir Tableau 3) fixées par des vis.
Ces éléments seront posés à l'avancement pour éviter que les fixations des éléments de couverture (tasseaux ou pattes de fixation du système à joint debout) ne se trouvent sur une jonction entre deux éléments.
5.1.3.1.5 réalisation de dômes et tourelles
Pour la réalisation de couvertures telles que dômes, tourelles, etc., des épaisseurs de support plus faibles sont nécessaires, le support étant généralement posé en biais et en double épaisseur, croisé.
5.1.3.1.6 couverture à ressauts
Les ressauts sont généralement obtenus à l'aide de coyaux posés sur les chevrons (Figure 3), ou par recouvrement de chevrons au droit des pannes avec ou sans calage (Figure 4), ou avec panne et contre-panne, ou avec fourrure rapportée contre la panne (Figure 5).
 : Couverture par éléments métalliques en feuilles et longues feuilles en zinc/DTU 40.41 (NF P34-211-1) (septembre 2004)/image/fig_AIW_1_3.png)
Figure 3 Ressaut obtenu à l'aide de coyaux
 : Couverture par éléments métalliques en feuilles et longues feuilles en zinc/DTU 40.41 (NF P34-211-1) (septembre 2004)/image/fig_AIW_1_4.png)
Figure 4 Ressaut obtenu par recouvrement des chevrons avec calage
 : Couverture par éléments métalliques en feuilles et longues feuilles en zinc/DTU 40.41 (NF P34-211-1) (septembre 2004)/image/fig_AIW_1_5.png)
Figure 5 Ressaut obtenu par fourrure rapportée contre la panne
Hauteur des ressauts :
h = 0,10 m pour couverture avec tasseaux de 0,05 m et couverture à joint debout.
h = 0,08 m pour couverture avec tasseaux de 0,04 m et couverture à joint debout.
h = 0,05 m pour couverture à joint debout pour les pentes > 10 % (voir § 5.4.2.3.1.1).
On peut également créer un ressaut par cassure de pente à l'aide d'un coyau (Figure 6), dont la pente respecte les valeurs des Tableaux 4 ou 5. Sur les gradins ainsi établis, on pose les voliges, frises, planches et lames à plancher, comme il est indiqué au paragraphe 5.1.3.1.1.
 : Couverture par éléments métalliques en feuilles et longues feuilles en zinc/DTU 40.41 (NF P34-211-1) (septembre 2004)/image/fig_AIW_1_6.png)
Figure 6 Ressaut obtenu par cassure de pente à l'aide d'un coyau
5.1.3.2 supports en panneaux dérivés du bois
Pour les supports en panneaux dérivés du bois faisant l'objet d'Avis Techniques visant la pose de couverture en zinc, il convient de se reporter aux prescriptions de mise en oeuvre spécifiques du panneau utilisé et définies dans l'Avis Technique.
5.1.3.3 autres supports
Sur les maçonneries de grande surface (coques en béton armé, voûtes, etc.) et sur les matériaux isolants, il est nécessaire de prévoir une lame d'air ventilée entre le voligeage support de couverture et le béton et/ou l'isolant, l'épaisseur de la lame d'air étant fixée au chapitre 5.6.
Pour la pose directe de couverture en zinc sur les autres supports définis au paragraphe 4.6.4, il convient de se reporter aux prescriptions de mise en oeuvre spécifiques et définies dans l'Avis Technique.
5.1.4 Supports localisés autres que le bois
Dans tous les cas, par exemple : mortier de ciment, plâtre, on interposera entre le zinc et ces supports une membrane dite " neutre ".
Parmi les membranes neutres, on peut citer le feutre imprégné, le papier dit " entre-deux sans fil ", le papier kraft paraffiné, le papier dit " anglais ".
5.1.4.1 plâtre ou mortier de liants hydrauliques
Les formes de pente en plâtre sont interdites sur les supports en béton armé et sur les supports métalliques, même avec interposition d'une membrane neutre entre le zinc et celle-ci. Pour ces supports, la pente sera réalisée en mortier de ciment ou en bois pour les supports en béton armé, et en bois pour les supports métalliques.
Pour les supports des chéneaux, il faut se référer à la norme XP P 36-201 - Référence DTU 40.5 - Couverture - Travaux d'évacuation des eaux pluviales - Cahier des clauses techniques.
5.1.4.2 maçonneries
La pose de zinc sur maçonnerie est limitée aux recouvrements d'entablement, de couronnement de murs, de joint de dilatation à double costière, d'appuis de baies et autres petits ouvrages.
Lorsque le support est en maçonnerie, soit monolithe, soit constitué d'éléments fractionnés, les tasseaux ou les pattes des bandes métalliques sont généralement fixés sur des files de taquets scellés dans le support.
Sauf indication spécifique dans les documents particuliers du marché, la pose des taquets est assurée par l'entreprise de gros oeuvre.
5.2 Prescriptions communes aux couvertures à tasseaux et couvre-joints et à joint debout
La longueur maximale des rampants en projection horizontale est limitée à 40 m.
5.2.1 Mise en oeuvre de la couverture à tasseaux et couvre-joints en feuilles et longues feuilles
Les pentes minimales du support en fonction des zones de concomitance vent-pluie sont données au Tableau 4.
 : Couverture par éléments métalliques en feuilles et longues feuilles en zinc/DTU 40.41 (NF P34-211-1) (septembre 2004)/image/tab_AIW_1_4.png)
Tableau 4 Pentes minimales de conception de charpente y compris ressaut (avec coyau) pour les couvertures à tasseaux
5.2.2 Mise en oeuvre de la couverture à joint debout
Les pentes minimales du support en fonction des zones de concomitance vent-pluie sont données au Tableau 5.
 : Couverture par éléments métalliques en feuilles et longues feuilles en zinc/DTU 40.41 (NF P34-211-1) (septembre 2004)/image/tab_AIW_1_5.png)
Tableau 5 Pentes minimales de conception de charpente y compris ressaut (avec coyau) pour les couvertures à joint debout
L'assemblage à agrafure transversale à joint debout est utilisable dans le cas de raccordement de pénétration dans les conditions du chapitre 5.4.3.8.
Pour les couvertures à tasseaux et à joint debout de forme cintrée, convexe ou concave, le système d'assemblage transversal est déterminé en tenant compte de la pente au droit de la jonction en respectant les pentes minimales pour chaque système de couverture et en respectant les conditions particulières concernant le régime de pente minimale au chapitre 5.5.1.
5.2.3 Dimensions des feuilles et longues feuilles
Elles sont données dans le tableau 6 :
 : Couverture par éléments métalliques en feuilles et longues feuilles en zinc/DTU 40.41 (NF P34-211-1) (septembre 2004)/image/tab_AIW_1_6.png)
Tableau 6 Dimensions des feuilles et longues feuilles
5.3 Mise en oeuvre des couvertures à tasseaux en feuilles et longues feuilles
5.3.1 Exécution des parties courantes
5.3.1.1 pose des tasseaux (feuilles et longues feuilles)
Les tasseaux, généralement trapézoïdaux, sont placés suivant la ligne de plus grande pente du versant afin de ne pas créer un obstacle à l'écoulement naturel des eaux. Toutefois, le tasseau de rive est toujours posé parallèlement à la rive.
Les tasseaux de faîtages et d'arêtiers peuvent être évidés.
La hauteur du tasseau doit être égale à la hauteur du relief des feuilles augmentée de 5 mm (Figures a et b). En général, les hauteurs des tasseaux et des reliefs sont :
tasseaux de 40 mm, reliefs latéraux 35 mm (Figure 7a),
tasseaux de 50 mm, reliefs latéraux 45 mm (Figure 7b).
Pour des versants de longueur supérieure à 8,00 m en projection horizontale, on utilisera des tasseaux de 50 mm de hauteur.
 : Couverture par éléments métalliques en feuilles et longues feuilles en zinc/DTU 40.41 (NF P34-211-1) (septembre 2004)/image/fig_AIW_1_7.png)
Figure 7 Dimensions des tasseaux et hauteur des reliefs latéraux
Chaque tasseau est fixé sur le voligeage à l'aide de pointes ou vis traversant perpendiculairement à la fois le tasseau et la patte en zinc, dite " patte à tasseau ", intercalée au préalable entre le voligeage et le tasseau (Figures 8 et 9). Les dimensions des pointes à tasseaux sont données au Tableau 7.
 : Couverture par éléments métalliques en feuilles et longues feuilles en zinc/DTU 40.41 (NF P34-211-1) (septembre 2004)/image/tab_AIW_1_7.png)
Tableau 7 Dimensions des pointes à tasseaux
De plus, les tasseaux doivent recevoir une fixation intermédiaire par la pose de pointes traversant en biais les tasseaux et le voligeage (Figure 8).
En général, dans les couvertures à ressauts, les tasseaux sont disposés en quinconce.
La pose à tasseaux alignés, bien que possible, présente des difficultés d'exécution.
Dans le cas d'utilisation de panneaux dérivés du bois, il y a lieu de se reporter aux modes de fixation définis dans les Avis Techniques.
 : Couverture par éléments métalliques en feuilles et longues feuilles en zinc/DTU 40.41 (NF P34-211-1) (septembre 2004)/image/fig_AIW_1_8.png)
Figure 8 Fixation des tasseaux et des pattes à tasseaux
5.3.1.2 pattes à tasseaux et pattes à feuilles
Les feuilles de zinc sont fixées latéralement par des pattes à tasseaux et transversalement en tête par des pattes à feuilles (Figure 9).
Les pattes à tasseaux (Figure 9) sont en zinc de 0,65 mm d'épaisseur minimale et ont une largeur de 40 mm. Leur longueur initiale est fonction de la hauteur des tasseaux :
tasseau de 4 : 0,160 m ;
tasseau de 5 : 0,180 m.
Les pattes à feuilles ne sont utilisées que dans les systèmes à agrafure (simple ou double). Elles sont en zinc de 0,65 mm d'épaisseur minimale, de 40 mm de largeur et leurs longueurs sont :
de 0,12 à 0,13 m pour les feuilles ;
de 0,12 à 0,15 m pour les longues feuilles.
 : Couverture par éléments métalliques en feuilles et longues feuilles en zinc/DTU 40.41 (NF P34-211-1) (septembre 2004)/image/fig_AIW_1_9.png)
Figure 9 Pose des pattes à tasseaux et fixation des reliefs latéraux
5.3.1.3 pose des feuilles ou longues feuilles en zinc
Les feuilles ou longues feuilles sont toujours posées avec deux reliefs latéraux au droit des tasseaux. Leur hauteur est déterminée en fonction de la hauteur du tasseau : un jeu de 5 mm doit être ménagé entre le tasseau et le pli de la feuille (Figures 7a et b). Les reliefs au droit des tasseaux ne sont pas cloués, mais maintenus par des pattes à tasseaux (Figure 9, positions 1, 2, 3). Toutefois, pour la couverture en feuilles, en complément des pattes, un clou placé en haut des reliefs latéraux et fixant celle-ci sur les tasseaux est admis en tête de feuille (Figure 10).
 : Couverture par éléments métalliques en feuilles et longues feuilles en zinc/DTU 40.41 (NF P34-211-1) (septembre 2004)/image/fig_AIW_1_10.png)
Figure 10 Fixation en tête par clouage
En tête de versant, les feuilles ou longues feuilles ont un relief dont la hauteur dépend du type de raccordement (ressaut, pénétration ou faîtage). A l'égout elles ont, soit une pince d'agrafure, soit un pli de larmier. Leur mode d'assemblage transversal varie avec le système de couverture ; il est décrit au paragraphe 5.3.2.
Les pattes à tasseau sont disposées tous les 0,50 m, les pattes d'extrémités sont placées à 0,10 m au plus des extrémités du rampant (Figures 8, 11a). Le Tableau 8 précise les hauteurs de bâtiments ainsi que les zones de vent (en référence aux règles NV 65) pour lesquelles ces dispositions sont applicables.
 : Couverture par éléments métalliques en feuilles et longues feuilles en zinc/DTU 40.41 (NF P34-211-1) (septembre 2004)/image/tab_AIW_1_8.png)
Tableau 8 Limites de hauteur des couvertures en feuilles ou longues feuilles à tasseaux
5.3.1.4 fixation des feuilles
Les feuilles sont fixées latéralement par des pattes à tasseaux.
Elles peuvent également être fixées par des pattes à tasseaux de tête recourbées dans une encoche aménagée à cet effet sur le relief latéral (Figure 12) ou suivant le procédé décrit au paragraphe 5.3.1.3 et à la Figure 10.
Chaque feuille est maintenue par le haut à l'aide de deux pattes clouées sur le voligeage et insérées dans la pince de tête (Figures 11 a et 13).
Pour les pentes > 1,73 m/m (60°), afin d'éviter le glissement vertical des feuilles, on doit prendre les dispositions suivantes :
les deux pattes à tasseaux de tête seront recourbées dans les encoches aménagées sur les reliefs latéraux (figure 12). On peut également fixer les feuilles avec le procédé décrit au paragraphe 5.3.1.3 et à la Figure 10 ;
on ajoutera une troisième patte à feuille entre les deux premières, cette patte supplémentaire étant soudée sous la feuille et clouée sur le voligeage (Figures 11a et 13).
 : Couverture par éléments métalliques en feuilles et longues feuilles en zinc/DTU 40.41 (NF P34-211-1) (septembre 2004)/image/fig_AIW_1_11.png)
Figure 11 Fixation des éléments de couverture
 : Couverture par éléments métalliques en feuilles et longues feuilles en zinc/DTU 40.41 (NF P34-211-1) (septembre 2004)/image/fig_AIW_1_12.png)
Figure 12 Fixation des feuilles en tête
 : Couverture par éléments métalliques en feuilles et longues feuilles en zinc/DTU 40.41 (NF P34-211-1) (septembre 2004)/image/fig_AIW_1_13.png)
Figure 13 Fixation des éléments, pattes à feuilles
5.3.1.5 fixation des longues feuilles
5.3.1.5.1 dispositions générales
Les longues feuilles de zinc sont fixées latéralement par des pattes à tasseaux rabattues sur les reliefs latéraux des éléments quel que soit le système de jonction transversale (agrafure simple ou double, ressaut) et qui ne doivent pas entraver les mouvements thermiques (dilatation, retrait).
Pour répartir les effets des mouvements thermiques, on doit réaliser, en vis à vis sur chaque relief latéral, un point fixe au moyen de deux clous traversant une patte à tasseau (Figure 14).
 : Couverture par éléments métalliques en feuilles et longues feuilles en zinc/DTU 40.41 (NF P34-211-1) (septembre 2004)/image/fig_AIW_1_14.png)
Figure 14 Réalisation du point fixe (longues feuilles)
La position du point fixe est déterminée par la longueur des longues feuilles ainsi que par la pente du versant. Elle est donnée dans le Tableau 6 et illustrée Figures 15 et 16.
 : Couverture par éléments métalliques en feuilles et longues feuilles en zinc/DTU 40.41 (NF P34-211-1) (septembre 2004)/image/fig_AIW_1_15.png)
Figure 15 Position de la partie fixe en tête pour pente entre 5 % et la verticale
 : Couverture par éléments métalliques en feuilles et longues feuilles en zinc/DTU 40.41 (NF P34-211-1) (septembre 2004)/image/fig_AIW_1_16.png)
Figure 16 Position de la partie fixe intermédiaire pour pente entre 5 et 60 %
5.3.1.5.2 fixation en tête pour les systèmes agrafure simple ou double
Dans le cas de jonction entre longues feuilles par agrafure simple ou double, la partie fixe est toujours disposée en tête (voir Tableau 6 et Figure 15). De plus, la fixation des longues feuilles sera complétée par deux pattes à feuilles insérées dans la pince de tête et clouées sur le voligeage.
Pour les pentes supérieure à 173 % (60°), on ajoutera une bande de zinc ou d'acier galvanisé Z350 de 0,140 m de développé, clouée ou soudée sous la pince de tête de la longue feuille ; elle devra s'arrêter à 30 mm des reliefs latéraux (Figure 17).
Cette bande sera fixée sur le support soit par des clous, soit par des vis espacées de 50 mm et placées en quinconce, la première et la dernière se trouvant à 30 mm des bords latéraux (Figure 17b). La jonction avec les éléments supérieurs peut s'effectuer par agrafure simple (Figure 17a) ou double (Figure 17c) avec recouvrement de 0,180 m.
 : Couverture par éléments métalliques en feuilles et longues feuilles en zinc/DTU 40.41 (NF P34-211-1) (septembre 2004)/image/fig_AIW_1_17.png)
Figure 17 Fixation en tête des longues feuilles pour les pentes supérieures à 173 %
 : Couverture par éléments métalliques en feuilles et longues feuilles en zinc/DTU 40.41 (NF P34-211-1) (septembre 2004)/image/fig_AIW_1_170.png)
Figure 170 Fixation en tête des longues feuilles pour les pentes supérieures à 173 %
 : Couverture par éléments métalliques en feuilles et longues feuilles en zinc/DTU 40.41 (NF P34-211-1) (septembre 2004)/image/fig_AIW_1_171.png)
Figure 171 Fixation en tête des longues feuilles pour les pentes supérieures à 173 %
5.3.2 Exécution des assemblages transversaux
5.3.2.1 agrafure simple
5.3.2.1.1 couverture en feuilles à agrafure simple
Les feuilles sont assemblées entre elles par une agrafure de 0,04 m ou 0,05 m.
-
agrafure de 0,040 m (Figure 18)
L'agrafure est composée :
d'une pince de 0,040 m de largeur rabattue par-dessus la partie supérieure de la feuille ;
d'une pince de 0,035 m dans le bas, rabattue par-dessous.
Le bas de chaque feuille s'agrafe avec le haut de la feuille inférieure en recouvrant les pattes à feuilles.
-
agrafure de 0,05 m (Figure 19)
La pince en tête de la feuille a 0,050 m de largeur, celle du bas 0,045 m. L'assemblage est semblable au système précédent.
Les dimensions des agrafures simples, des pinces et des jeux correspondants sont indiquées aux Figures 18 et 19.
 : Couverture par éléments métalliques en feuilles et longues feuilles en zinc/DTU 40.41 (NF P34-211-1) (septembre 2004)/image/fig_AIW_1_18.png)
Figure 18 Agrafure simple de 0,040 m
 : Couverture par éléments métalliques en feuilles et longues feuilles en zinc/DTU 40.41 (NF P34-211-1) (septembre 2004)/image/fig_AIW_1_19.png)
Figure 19 Agrafure simple de 0,050 m
5.3.2.1.2 couverture en longues feuilles à agrafure simple
Les longues feuilles sont assemblées entre elles par une agrafure de 0,060 qui se compose :
d'une pince de 0,060 m de largeur rabattue par-dessus la partie supérieure de la feuille ;
d'une pince de 0,055 m dans le bas et rabattue par-dessous.
Le bas de chaque longue feuille s'agrafe avec le haut de la longue feuille inférieure en recouvrant les pattes à feuilles.
La partie fixe est positionnée en tête de feuille (Figure 15), la longueur des longues feuilles étant comprises entre 3 et 10 m dans le cas de jonction par agrafure.
Les dimensions de l'agrafure simple, des pinces et des jeux correspondants sont représentées aux Figures 20 et 21 (ci-après).
 : Couverture par éléments métalliques en feuilles et longues feuilles en zinc/DTU 40.41 (NF P34-211-1) (septembre 2004)/image/fig_AIW_1_20.png)
Figure 20 Agrafure simple et réalisation de la partie fixe (longues feuilles)
 : Couverture par éléments métalliques en feuilles et longues feuilles en zinc/DTU 40.41 (NF P34-211-1) (septembre 2004)/image/fig_AIW_1_21.png)
Figure 21 Agrafure simple de 0,060 m (longues feuilles)
5.3.2.2 à recouvrement avec agrafure dite " à double agrafure "
5.3.2.2.1 couverture en feuilles " à double agrafure "
La partie haute de la feuille comporte une pince de 0,030 m pour y placer les pattes à feuilles.
 : Couverture par éléments métalliques en feuilles et longues feuilles en zinc/DTU 40.41 (NF P34-211-1) (septembre 2004)/image/fig_AIW_1_22.png)
Figure 22 Jonction à recouvrement avec agrafure dite à double agrafure
Au-dessous est soudée une bande de zinc dite " bande d'agrafure " de 0,060 m de large, destinée à recevoir la pince de 0,030 m façonnée au bas de la feuille supérieure.
Le recouvrement est d'autant plus grand que la pente est plus faible ; la dénivellation entre le haut et le bas du recouvrement ne doit pas être inférieure à 0,010 m en zone 1 de concomitance vent-pluie, et 0,015 m en zones 2 et 3 de concomitance vent-pluie (Figure 23a).
Dans le cas de très faibles pentes (8 % ≤ P < 10 %) et pour éviter les contre-pentes locales, il est possible de réduire la pince du haut à 0,01 m, souder les pattes sous la feuille et les clouer sur le voligeage (Figure 23b).
La valeur du recouvrement de la feuille est fonction de la pente, elle est donnée au Tableau 9.
 : Couverture par éléments métalliques en feuilles et longues feuilles en zinc/DTU 40.41 (NF P34-211-1) (septembre 2004)/image/tab_AIW_1_9.png)
Tableau 9 Pentes et recouvrements pour les doubles agrafures en feuilles
Les dimensions des pinces, de la bande d'agrafure et des jeux correspondants sont indiquées aux Figures 23a et 23b.
 : Couverture par éléments métalliques en feuilles et longues feuilles en zinc/DTU 40.41 (NF P34-211-1) (septembre 2004)/image/fig_AIW_1_23.png)
Figure 23 Double agrafure avec pattes à feuilles soudées ou agrafées et clouées
5.3.2.2.2 couverture en longues feuilles " à double agrafure "
La partie supérieure de la longue feuille comporte une pince de 0,03 m dans laquelle on agrafe les pattes à feuilles.
Au-dessous est soudée une bande de zinc dite " bande d'agrafure " de 0,080 m de large, destinée à recevoir la pince de 0,060 m façonnée en bas de l'élément supérieur.
Le recouvrement est fixé à 0,180 m minimum quelle que soit la pente (pente minimale 0,080 m/m) (Tableau 4).
La partie fixe est positionnée en tête de feuille, la longueur des longues feuilles étant comprise entre 3 et 10 m dans le cas de jonction par agrafure.
Les dimensions du recouvrement, des pinces, de la bande d'agrafure et des jeux correspondants sont indiquées à la Figure 24.
 : Couverture par éléments métalliques en feuilles et longues feuilles en zinc/DTU 40.41 (NF P34-211-1) (septembre 2004)/image/fig_AIW_1_24.png)
Figure 24 Double agrafure en longues feuilles
5.3.2.3 couverture à ressauts
Les feuilles ou les longues feuilles comportent :
en tête : un relief ayant une hauteur égale à celle du ressaut diminué de 10 mm ;
en bas : un larmier qui ne doit jamais être entaillé ; il doit, en particulier, passer franc au-dessus des couvre-joints du ressaut inférieur.
Les angles formés par la rencontre des reliefs de tête sont soudés (Figure 25) ou repliés derrière le relief de tête (Figure 45).
 : Couverture par éléments métalliques en feuilles et longues feuilles en zinc/DTU 40.41 (NF P34-211-1) (septembre 2004)/image/fig_AIW_1_25.png)
Figure 25 Ressaut
Les dimensions des jeux permettant les mouvements thermiques sont indiquées à la Figure 26.
 : Couverture par éléments métalliques en feuilles et longues feuilles en zinc/DTU 40.41 (NF P34-211-1) (septembre 2004)/image/fig_AIW_1_26.png)
Figure 26 Ressaut : dimensions des jeux
5.3.2.4 couverture à travées continues
Les feuilles ou longues feuilles vont de l'égout au faîtage sans jonction transversale.
Les raccordements à l'égout et au faîtage se font respectivement comme indiqué au paragraphe 5.3.8.
La fixation des feuilles ou longues feuilles se fait comme indiqué aux paragraphes 5.3.2.3.1 et 5.3.2.3.2.
5.3.3 Soudures (soudo-brasage)
Les soudures entre feuilles ne constituent pas un système constructif et se limitent à la réalisation de points singuliers.
Les soudures à l'étain (voir paragraphe 4.5) pour feuilles et longues feuilles sont exécutées à recouvrement. Elles sont d'aspect régulier. Pour augmenter la résistance mécanique, ces soudures peuvent être barrées au fer.
Pour les zinc revêtus, on procédera à l'élimination locale du revêtement, c'est-à-dire à la mise à nu du métal.
Pour des raisons d'aspect, le reconditionnement par peinture au droit des soudures sur le zinc prélaqué peut être demandé dans le cadre des documents du marché.
5.3.4 Couvre-joint de tasseau
5.3.4.1 description
Les couvre-joints (Figure 27), destinés à recouvrir les tasseaux séparant les travées et les deux reliefs latéraux des feuilles ou des longues feuilles, sont conformes à la norme NF P 34-403. L'épaisseur minimale est de 0,65 mm.
Ils ont un développement de 0,100 m pour les tasseaux de 0,04 m et de 0,05 m.
 : Couverture par éléments métalliques en feuilles et longues feuilles en zinc/DTU 40.41 (NF P34-211-1) (septembre 2004)/image/fig_AIW_1_27.png)
Figure 27 Couvre-joint de 0,100 m de développé
5.3.4.2 pose
Pour les couvertures en feuilles ou longues feuilles, les couvre-joints sont posés en partie courante par éléments de 1 mètre maximum avec un recouvrement minimal de 0,05 m.
Une distance d'environ 5 mm au minimum est toujours réservée entre la rive inférieure du couvre-joint et le plat de la couverture (Figure 28).
5.3.4.3 fixation
L'emploi de clous calotins n'est pas admis en travaux neufs, mais toléré en travaux de réparation. La pose de vis et de rondelles d'étanchéité est réservée aux travaux de réparation.
5.3.4.3.1 fixation du couvre-joint en partie courante
En partie courante chaque extrémité de couvre-joint est fixée par l'un des procédés suivants :
à son extrémité supérieure par un clou ;
-
à son extrémité inférieure il peut être fixé par :
-
une patte de fixation (voir paragraphe 4.3) qui est :
soit clouée en même temps que le haut du couvre-joint inférieur pour être rabattu de 0,010 à 0,020 m sur le bas du bout supérieur (Figure 28). Dans ce cas, on utilise des pattes en cuivre étamé ou en acier inoxydable spécialement conçues à cet effet ;
soit soudée sur le haut du couvre-joint après clouage au préalable de celui-ci (Figure 29).
des baïonnettes soudées dans sa partie inférieure (Figure 30).
-
 : Couverture par éléments métalliques en feuilles et longues feuilles en zinc/DTU 40.41 (NF P34-211-1) (septembre 2004)/image/fig_AIW_1_28.png)
Figure 28 Fixation par patte clouée
 : Couverture par éléments métalliques en feuilles et longues feuilles en zinc/DTU 40.41 (NF P34-211-1) (septembre 2004)/image/fig_AIW_1_29.png)
Figure 29 Fixation par patte soudée dite " à ressort "
 : Couverture par éléments métalliques en feuilles et longues feuilles en zinc/DTU 40.41 (NF P34-211-1) (septembre 2004)/image/fig_AIW_1_30.png)
Figure 30 Fixation par baïonettes
5.3.4.3.2 fixation du couvre-joint à l'égout
A l'égout pour tenir compte des mouvements thermiques (dilatation, retrait) la fixation de la première longueur de couvre-joint peut être réalisée par l'une ou l'autre des deux solutions suivantes :
en fixant le couvre-joint d'égout par des pattes soudées aux reliefs latéraux de feuilles ou longues feuilles. Le deuxième couvre-joint est fixé par baïonnettes soudées dans sa partie inférieure et ce dernier est cloué en tête (Figure 31). Dans ce cas le recouvrement est de 70 mm ;
en fixant le couvre-joint d'égout par un clou à son extrémité supérieure. Un jeu doit être ménagé entre le talon et le contre talon, le talon du couvre-joint d'égout formé par pliage (Figure 32a et b).
Pour les cas ci-dessus a) et b), on ne doit pas agrafer la chemise de garantie dans la pince du larmier des éléments de couverture afin de ne pas entraver les mouvements thermiques (dilatation, retrait).
Le clou est généralement placé à une distance de 10 mm de l'extrémité supérieure du couvre-joint. Les pattes de fixation des couvre-joints clouées ou soudées, ne doivent pas être contre-soudées, pour éviter leur soulèvement, un jeu doit être ménagé entre l'extrémité inférieure du couvre-joint et la pliure de la patte (Figures 28b et 29b).
 : Couverture par éléments métalliques en feuilles et longues feuilles en zinc/DTU 40.41 (NF P34-211-1) (septembre 2004)/image/fig_AIW_1_31.png)
Figure 31 Longues feuilles : fixation du couvre-joint d'égout par pattes soudées
 : Couverture par éléments métalliques en feuilles et longues feuilles en zinc/DTU 40.41 (NF P34-211-1) (septembre 2004)/image/fig_AIW_1_32.png)
Figure 32 Longues feuilles : a) Jeu entre le contre-talon et le talon de couvre-joint - b) Talon de couvre-joint obtenu par pliage
5.3.5 Talon de couvre-joint
Chaque couvre-joint à l'égout et à chaque ressaut est fermé :
soit par un talon obtenu par pliage du couvre-joint lui même (figure 32b).
soit par un talon indépendant découpé suivant la section du couvre-joint, biseau redressé, soudé à celui-ci à angle vif et le dépassant par le bas (figure 33a et b).
La partie inférieure s'insère dans l'agrafure dans le cas de raccordement dans le rampant ; pénétrations, noues ou est repliée sous le larmier ou sous la pince dans le cas du larmier agrafé.
Pour les talons biais, seule la solution b) est possible (Figure 34a et b).
 : Couverture par éléments métalliques en feuilles et longues feuilles en zinc/DTU 40.41 (NF P34-211-1) (septembre 2004)/image/fig_AIW_1_33.png)
Figure 33 Talon de couvre-joint droit rapporté soudé
 : Couverture par éléments métalliques en feuilles et longues feuilles en zinc/DTU 40.41 (NF P34-211-1) (septembre 2004)/image/fig_AIW_1_34.png)
Figure 34 Talon de couvre-joint biais rapporté soudé
5.3.6 Tête de couvre-joint ordinaire
Les couvre-joints sont terminés en raccord contre les obstacles par une tête de couvre-joint soudée sur celui-ci. Cette tête devra dépasser en largeur d'au moins 4 cm de part et d'autre du couvre-joint. Elle s'engage sous l'ouvrage supérieur de la couverture (couvre-joint de faîtage ou d'arêtier, bande de solin, larmier d'éléments de couverture ou de bande de recouvrement, etc.).
On en distingue deux types, la tête droite (Figure 35) et la tête biaise (Figure 36).
La tête droite peut être réalisée par pliage du couvre-joint.
 : Couverture par éléments métalliques en feuilles et longues feuilles en zinc/DTU 40.41 (NF P34-211-1) (septembre 2004)/image/fig_AIW_1_35.png)
Figure 35 Tête de couvre-joint droite
 : Couverture par éléments métalliques en feuilles et longues feuilles en zinc/DTU 40.41 (NF P34-211-1) (septembre 2004)/image/fig_AIW_1_36.png)
Figure 36 Tête de couvre-joint biaise
5.3.7 Tête de couvre-joint dite « patte d'oies »
Lorsque les couvre-joints s'amortissent sous un membron, sous un larmier, sous une agrafure ou contre une saillie de moins de 4 cm, la tête du couvre-joint est exécutée en patte d'oie. Toutefois, cette technique ne peut être mise en oeuvre que pour des pentes ≥ 173 % (60°).
Elle peut être réalisée soit d'une seule pièce par pliage avec goussets rapportés soudés, soit avec alaises rapportées et soudées.
La tête patte d'oie peut être réalisée d'une seule pièce par estampage.
 : Couverture par éléments métalliques en feuilles et longues feuilles en zinc/DTU 40.41 (NF P34-211-1) (septembre 2004)/image/fig_AIW_1_37.png)
Figure 37 Tête de couvre-joint « Patte d'oies »
5.3.8 Raccords d'ouvrage continus
5.3.8.1 égout
5.3.8.1.1 larmier
Le raccordement du bas des feuilles et longues feuilles avec les chéneaux ou gouttières se fait par un larmier de 45 ou 60 mm (Figures 38a et b). Au ressaut pour les feuilles et longues feuilles, le larmier doit être de 35 mm pour le ressaut de 0,080 m et de 45 mm pour le ressaut de 0,100 m (Figure 38b).
On laissera un jeu de 10 mm pour la couverture en feuilles et 15 mm pour la couverture en longues feuilles entre le bas de la feuille ou longue feuille et le bas du support bois (Figures 38a et b) ou de la bande d'égout (Figure 39).
Si le recouvrement du larmier sur les éléments à recouvrir est inférieur à 30 mm, on interposera une bande complémentaire de manière à obtenir ces 30 mm (Figure 39). Ces bandes s'assemblent entre elles par recouvrement.
 : Couverture par éléments métalliques en feuilles et longues feuilles en zinc/DTU 40.41 (NF P34-211-1) (septembre 2004)/image/fig_AIW_1_38.png)
Figure 38 A) Larmier de 60 à deux plis - b) Larmier de 45 à un pli
 : Couverture par éléments métalliques en feuilles et longues feuilles en zinc/DTU 40.41 (NF P34-211-1) (septembre 2004)/image/fig_AIW_1_39.png)
Figure 39 Jeux entre larmier et bande d'égout
Dans le cas de la couverture en longues feuilles, on peut réaliser la liaison à l'égout soit par un larmier droit (Figures 38a et b), soit avec une bande d'égout spéciale et agrafage de l'élément de couverture sur cette dernière (Figures 40 et 41).
 : Couverture par éléments métalliques en feuilles et longues feuilles en zinc/DTU 40.41 (NF P34-211-1) (septembre 2004)/image/fig_AIW_1_40.png)
Figure 40 Bande d'égout spéciale et jeux entre longue feuille et bande d'égout
 : Couverture par éléments métalliques en feuilles et longues feuilles en zinc/DTU 40.41 (NF P34-211-1) (septembre 2004)/image/fig_AIW_1_41.png)
Figure 41 Bande d'égout spéciale à dilatation et fixation par patte d'agrafage
La bande d'égout spéciale est fixée en tête, soit par des pattes agrafées dans la pince, soit par clouage et côté égout par des pattes d'agrafe en acier galvanisé (Figures 40 et 41).
Dans le cas de gouttière nantaise ou havraise, le raccord se fait par double agrafure, le pli inférieur de celle-ci devant se trouver au-dessus du niveau de l'ourlet de la gouttière.
5.3.8.1.2 chemise de garantie
Sous les extrémités des tasseaux, côté égout, on dispose des pièces en zinc, appelées " chemises de garantie " avec pinces latérales, de 0,20 m × 0,15 m ou de 0,30 m × 0,15 m sans pinces latérales pour assurer l'étanchéité (Figure 42) et raidir le larmier (Figure 44). Pour les longues feuilles, on ne doit pas agrafer la chemise de garantie dans la pince du larmier des éléments de couverture afin de ne pas entraver les mouvements thermiques (dilatation, retrait).
Vis-à-vis du problème d'étanchéité, cette disposition ne s'applique pas à l'égout si celui-ci comporte une bande d'égout faisant la liaison entre la couverture et l'évacuation d'eaux pluviales.
 : Couverture par éléments métalliques en feuilles et longues feuilles en zinc/DTU 40.41 (NF P34-211-1) (septembre 2004)/image/fig_AIW_1_42.png)
Figure 42 Chemises de garantie
5.3.8.1.3 contre-talon
Les prescriptions concernant la pose des contre-talons sont données au Tableau 10.
Les contre-talons sont soudés sur la feuille ou longue feuille en raccord du larmier et du relief latéral (Figure 43).
 : Couverture par éléments métalliques en feuilles et longues feuilles en zinc/DTU 40.41 (NF P34-211-1) (septembre 2004)/image/tab_AIW_1_10.png)
Tableau 10 Pose de contre-talon
 : Couverture par éléments métalliques en feuilles et longues feuilles en zinc/DTU 40.41 (NF P34-211-1) (septembre 2004)/image/fig_AIW_1_43.png)
Figure 43 Contre-talon rapporté soudé
 : Couverture par éléments métalliques en feuilles et longues feuilles en zinc/DTU 40.41 (NF P34-211-1) (septembre 2004)/image/fig_AIW_1_44.png)
Figure 44 Egout avec chemise de garantie
5.3.8.2 faîtage et arêtier
5.3.8.2.1 tasseaux
Les tasseaux de faîtages ont 80 mm de hauteur et les tasseaux d'arêtiers 60 mm ou 80 mm. Ils sont généralement trapézoïdaux et de forme évidée. Ils sont posés à cheval sur l'arête formée par la rencontre des versants et fixés sur le voligeage et la charpente par clouage (Figures 47, 48).
5.3.8.2.2 raccordement des feuilles et des longues feuilles et couvre-joints
Les feuilles et longues feuilles comportent en tête un relief de faîtage d'une hauteur égale à celle du tasseau moins 10 mm.
Les angles formés par la rencontre des relevés latéraux et du relief de faîtage sont soudés (Figure 25) ou exécutés en coin de mouchoir et repliés derrière le relief de tête (Figure 45).
 : Couverture par éléments métalliques en feuilles et longues feuilles en zinc/DTU 40.41 (NF P34-211-1) (septembre 2004)/image/fig_AIW_1_45.png)
Figure 45 Raccordement entre reliefs latéraux et relief de tête par coin de mouchoir
Un jeu de 5 mm est laissé entre le relief de tête et le tasseau de faîtage dans le cas de la couverture en feuilles et 10 mm dans le cas de la couverture en longues feuilles (voir Figure 26).
Les couvre-joints sont raccordés avec une tête ordinaire droite ou biaise (Figures 35 et 36) suivant la nature du tasseau de faîtage ou d'arêtier (Figures 47 et 48).
5.3.8.2.3 couvre-joint de faîtage et d'arêtier
5.3.8.2.3.1 Descriptions des couvre-joints
Les couvre-joints (Figure 46) destinés à recouvrir les tasseaux séparant les rampants et les reliefs de tête des éléments de couverture (feuilles ou longues feuilles) sont définis aux chapitres 4.2.1 et 4.2.4.
 : Couverture par éléments métalliques en feuilles et longues feuilles en zinc/DTU 40.41 (NF P34-211-1) (septembre 2004)/image/fig_AIW_1_46.png)
Figure 46 A) Couvre-joint d'arêtier de 140 mm - b) Couvre-joint de faîtage de 166 mm
Ils ont un développement de 0,166 m pour les tasseaux de faîtage de 0,08 m et 0,140 m pour les tasseaux d'arêtier de 0,06 m.
5.3.8.2.3.2 Pose des couvre-joints
Les couvre-joints placés sur un tasseau de faîtage seront posés par élément de 1 m de longueur avec un recouvrement minimal de 0,08 m (Figure 47). La pose des couvre-joints se fera dans le sens opposé aux vents de pluie dominants.
 : Couverture par éléments métalliques en feuilles et longues feuilles en zinc/DTU 40.41 (NF P34-211-1) (septembre 2004)/image/fig_AIW_1_47.png)
Figure 47 Couvre-joint de faîtage
 : Couverture par éléments métalliques en feuilles et longues feuilles en zinc/DTU 40.41 (NF P34-211-1) (septembre 2004)/image/fig_AIW_1_48.png)
Figure 48 Couvre-joint d'arêtier
Le couvre-joint placé sur un tasseau d'arêtier sera posé par éléments de 1 m avec un recouvrement minimal de 0,05 m (Figure 48). La fixation des couvre-joints de faîtages et d'arêtiers se fera suivant les dispositions du paragraphe 5.3.4.3.1.
Le faîtage ou l'arêtier d'une couverture à un seul versant est traité soit comme une rive droite ou biaise (mais avec un tasseau de faîtage, d'arêtier ou une planche de bandeau), soit comme une pénétration continue.
5.3.8.3 rives
Généralement, les bandes de rive sont posées par élément de 1 m de longueur. Elles ont une hauteur développée de 400 mm maximum. Les jonctions entre éléments peuvent être réalisées par simple recouvrement, agrafure simple, etc. Les fixations pattes d'agrafe, pattes clouées ou soudées, clips, doivent être posées à raison de 2,5 au mètre (0,40 m d'entraxe). Toutefois, si les fixations permettent les mouvements thermiques (pontet Figure 50, clip Figure 51), il est possible de poser la bande de rive par élément de 2 m de longueur.
L'ourlet est rechassé (Figures 49, 50 et 51).
5.3.8.3.1 rive droite avec tasseau de rive
On place une bande de rive à biseau sur le tasseau de rive que l'on recouvre d'un couvre-joint de 100 mm. La fixation de la bande de rive à biseau est réalisée :
en tête, soit par clouage (Figure 49), soit par patte soudée, agrafée sur pontet cloué sur le tasseau (Figure 50) ;
en bas, l'ourlet rechassé de la bande de rive est maintenu soit par une patte d'agrafe à baïonnette clouée sur la rive (chevron, planche de rive, mur...) (Figure 49), soit par une patte clouée sur la rive et enroulée autour de l'ourlet, soit par une patte clouée agrafée sur un pontet soudé sur l'ourlet (Figure 50), soit par un clip en acier inoxydable (Figure 51 a).
Ensuite un couvre-joint recouvre le relief latéral de l'élément de couverture le tasseau et la bande de rive. Sa pose et sa fixation sont réalisées comme indiqué au paragraphe 5.3.4.3.1.
 : Couverture par éléments métalliques en feuilles et longues feuilles en zinc/DTU 40.41 (NF P34-211-1) (septembre 2004)/image/fig_AIW_1_49.png)
Figure 49 Bande de rive fixée par clouage
 : Couverture par éléments métalliques en feuilles et longues feuilles en zinc/DTU 40.41 (NF P34-211-1) (septembre 2004)/image/fig_AIW_1_50.png)
Figure 50 Bande de rive fixée par pontet
5.3.8.3.2 rive droite avec bandeau
Le tasseau est remplacé par un bandeau (planche) fixé sur le chevron, puis une bande façonnée (Figures 51a) recouvre le bandeau ; elle est fixée en bas suivant les indications du paragraphe 5.3.8.3.1, en partie haute, elle est maintenue par des pattes d'agrafe clouées.
L'étanchéité entre le relief latéral de la feuille de rive, le bandeau et la bande en zinc est assurée par une main courante ou un couvre-joint. Leur pose est réalisée comme indiqué au paragraphe 5.3.4.3.1.
On peut également utiliser une bande de rive avec couvre-joint intégré (Figure 51c).
 : Couverture par éléments métalliques en feuilles et longues feuilles en zinc/DTU 40.41 (NF P34-211-1) (septembre 2004)/image/fig_AIW_1_51.png)
Figure 51 Bande de rive fixée par clips
5.3.8.3.3 rive biaise que fuit l'eau
Ces rives seront traitées comme les arêtiers pour les raccords des feuilles et des couvre-joints et comme les rives droites pour la bande de rive.
5.3.8.3.4 rive biaise qui reçoit l'eau
Suivant la pente et la surface du versant d'une part et l'inclinaison de la rive d'autre part, ces rives sont traitées comme des noues ou des chéneaux.
5.3.8.4 noues
Il est rappelé que la noue constitue un point singulier de rencontre entre deux éléments de la couverture, qui reçoit une grande quantité d'eau et dont la pente est inférieure à celle des deux rampants qui la constituent.
5.3.8.4.1 détermination du type de noue
Le choix du modèle de noue à mettre en oeuvre est fonction de la pente des versants de couverture qui détermine la pente de la noue et de la longueur des versants. Le Tableau 11 précise les modes de jonctions des éléments de noue en fonction de la pente.
On distingue deux types de noues :
les noues encaissées : Ce type de noue peut être utilisé dans tous les cas et l'encaissement doit être prévu à la conception. Ce type de noue est obligatoire pour les pentes de noue inférieure à 15 % ;
les noues non encaissées ou noues plates : elles sont posées sur le support de la couverture. Ces types de noues ne peuvent être utilisées que sous certaines conditions de pentes et selon la surface récoltée.
La détermination des développés dépend du type de noue, de la surface de récolte, de la pente et, dans le cas des noues plates, de l'angle d'ouverture de la noue. On se reportera à l'annexe F pour le choix des développés de noue.
Pour tous les types de noues, il faut prévoir un jeu entre les feuilles ou longues feuilles et les éléments de noues. Ces jeux seront les mêmes que ceux indiqués pour les différents types de jonction ; agrafure simple ou double, raccord en larmier... (voir § 5.3.2.1.1, 5.3.2.1.2, 5.3.2.2.1, 5.3.2.2.2, 5.3.8.1.1). Le type et le dimensionnement des jonctions sont identiques à ceux du système de couverture correspondant (couverture à tasseau ou à joint debout).
L'élément en pied de noue comporte un larmier, celui de tête comporte un relief avec soudure d'angles avec ou sans gousset rapporté soudé.
Pour les couvertures cintrées, la conception de la noue sera déterminée selon la pente minimum rencontrée le long de l'ouvrage.
 : Couverture par éléments métalliques en feuilles et longues feuilles en zinc/DTU 40.41 (NF P34-211-1) (septembre 2004)/image/tab_AIW_1_11.png)
Tableau 11 Jonctions des éléments de noue
5.3.8.4.2 noue encaissée
L'encaissement de 0,050 m minimum doit être prévu dans la charpente. On peut le créer, soit avec des planches délardées et calées ou par des coyaux, soit en appuyant les chevrons de la couverture coupés en biais sur des pièces de charpente placées de part et d'autre de l'axe de noue, la distance entre ces pièces déterminant la largeur et la section de la noue en fonction de la surface des versants à desservir. Le fond de la noue est exécuté soit en voliges, soit en planches clouées sur des fourrures fixées sur les pièces de charpente citées ci-dessus. L'intervalle entre abouts des chevrons est masqué par une volige ou une planche.
La noue en zinc comporte deux relevés latéraux de 45 mm minimum. Son développement est de 0,33 m minimum. La noue est maintenue latéralement dans son berceau par des mains d'arrêt à raison de 2,5 au mètre.
Les éléments de noue sont limités à 10 m de longueur et sont réalisés soit d'une seule pièce, soit par bouts soudés. Pour les noues de longueur supérieure à 10 m, il y aura lieu d'avoir recours à une jonction par ressaut ou par joint de dilatation. On admet aussi une double agrafure pour des pentes de noue supérieure ou égale à 25 %.
Le joint de dilatation relève de l'Avis Technique qui précise sa mise en oeuvre en fonction du développé de la noue.
Le raccord des feuilles de versant est traité comme un égout : celles-ci comportent une retombée avec larmier.
 : Couverture par éléments métalliques en feuilles et longues feuilles en zinc/DTU 40.41 (NF P34-211-1) (septembre 2004)/image/fig_AIW_1_52.png)
Figure 52 Noue encaissée
5.3.8.4.3 noues plates
Les noues plates, quel que soit leur type, sont posées directement sur le support de la couverture et pour des pentes de noues supérieures ou égales à 15 %. Le développement minimum des noues plates dépend du système de jonction entre les éléments de noue et ceux de la couverture, ainsi que du type de couverture : feuilles ou longues feuilles.
5.3.8.4.3.1 Noues à tasseau de fond
Ce type de noues est constitué de deux demi-noues, leur section pouvant être adaptée aux besoins d'évacuation des eaux en augmentant le développement des éléments de noue ainsi que la hauteur du tasseau de fond. Le type de raccordement entre éléments de noue et celui entre ces derniers et les éléments de couverture est indiqué au Tableau 11.
Le talon des couvre-joints de couverture étant à 0,200 m au minimum de l'axe de la noue.
Cette noue est exécutée en deux travées séparées par un tasseau de fond de 80 mm de hauteur minimum avec couvre-joint indépendant (Figure 53), lorsque la différence de pente des deux versants est inférieure à 27 % ou 15°.
Pour des hauteurs de relief supérieures à 80 mm, on peut remplacer le tasseau par une planche posée sur champ.
 : Couverture par éléments métalliques en feuilles et longues feuilles en zinc/DTU 40.41 (NF P34-211-1) (septembre 2004)/image/fig_AIW_1_53.png)
Figure 53 Noue à tasseau de fond avec couvre-joint indépendant
Lorsque la différence de pente des deux versants est supérieure ou égale à 27 % ou 15°, la noue est exécutée suivant l'une ou l'autre des deux méthodes ci-après :
soit en deux travées séparées par un tasseau de fond de 80 mm de hauteur avec un couvre-joint intégré dans l'élément de noue du versant le plus incliné (Figure 54a) ;
soit avec un tasseau de 80 mm de hauteur, déporté sur le versant le moins incliné avec couvre-joint indépendant (Figure 54b).
Les raccordements entre éléments de noue et éléments de couverture sont exécutés comme indiqué au Tableau 11.
On peut également exécuter une noue avec joint debout de fond (voir paragraphe 5.4.3.5).
 : Couverture par éléments métalliques en feuilles et longues feuilles en zinc/DTU 40.41 (NF P34-211-1) (septembre 2004)/image/fig_AIW_1_54.png)
Figure 54 Noue à tasseau de fond - a) Noue à couvre-joint intégré dans la feuille de noue
 : Couverture par éléments métalliques en feuilles et longues feuilles en zinc/DTU 40.41 (NF P34-211-1) (septembre 2004)/image/fig_AIW_1_540.png)
Figure 54 Noue à tasseau de fond - b) Noue à tasseau de fond déporté à couvre-joint indépendant
5.3.8.4.3.2 Noues à agrafure
Les noues à agrafure se décomposent en deux types suivant le système de jonction entre les éléments de noue et entre ces derniers et les éléments de couverture en feuilles ou longues feuilles. On distingue les noues à double agrafure et celles à agrafure simple (voir Tableau 11 pour le type de raccordement entre éléments de noue et celui entre noue et couverture). Ces noues ayant des sections limitées, elles ne peuvent être utilisées que pour des surfaces de récoltes inférieures ou égales à 200 m² en projection horizontale.
-
Noues à recouvrement avec agrafure dite à double agrafure (Figure 55)
-
Jonction entre les éléments de noue
Les éléments de noue se raccordent entre eux par double agrafure comprenant, en tête une pince de 30 mm, une bande d'agrafure rapportée soudée de 60 mm de largeur, l'élément suivant comporte en bas une pince de 30 mm. Le recouvrement minimal entre éléments de noue est fonction de la pente (voir Tableau 5).
Jonction entre éléments de noue et feuilles ou longues feuilles de couverture
Les éléments de noue comportent un pli en leur milieu et sur les deux rives latérales des pinces de 20 mm et des bandes d'agrafure rapportées soudées de 60 mm pour la couverture en feuilles et de 80 mm pour la couverture en longues feuilles, permettant de réaliser un recouvrement identique à celui du système de couverture en partie courante (Figure 55a). Les éléments sont fixés avec des pattes à feuilles en tête et sur chaque côté à raison de 4 pattes au mètre.
 : Couverture par éléments métalliques en feuilles et longues feuilles en zinc/DTU 40.41 (NF P34-211-1) (septembre 2004)/image/fig_AIW_1_55.png)
Figure 55 Noue à double agrafure
-
-
Noue à agrafure simple (Figure 56)
-
Jonction entre les éléments de noue
Les éléments de noue se raccordent entre eux par une agrafure simple comprenant en tête une pince rabattue sur le dessus de 40 mm et en bas une pince rabattue en-dessous de 35 mm (pince de 60 au-dessus et pince de 55 en-dessous pour les longues feuilles).
Jonction entre éléments de noue et feuilles ou longues feuilles de couverture
Les éléments de noue comportent un pli en leur milieu et sur les deux rives latérales des pinces de 40 mm pour la couverture en feuilles et de 60 mm pour la couverture en longues feuilles. Les éléments sont fixés avec des pattes à feuilles en tête et sur chaque côté à raison de 4 pattes au mètre.
-
-
Raccordement éléments de couverture/éléments de noue (Figures 55 et 56)
Sur chaque rive, le bas des éléments de couverture est coupé en biais et une pince de 35 mm pour les feuilles ou de 55 mm pour les longues feuilles est façonnée. Des contre-talons biais sont soudés au droit des tasseaux. Les éléments sont agrafés soit sur les bandes d'agrafure rapportées soudées (double agrafure), soit sur les pinces de rive (agrafure simple). Les couvre-joints de couverture sont terminés par un talon biais replié dans l'agrafure de noue.
 : Couverture par éléments métalliques en feuilles et longues feuilles en zinc/DTU 40.41 (NF P34-211-1) (septembre 2004)/image/fig_AIW_1_56.png)
Figure 56 Noue à agrafure simple
 : Couverture par éléments métalliques en feuilles et longues feuilles en zinc/DTU 40.41 (NF P34-211-1) (septembre 2004)/image/fig_AIW_1_57.png)
Figure 57 Noue à crémaillère avec tasseau de fond
5.3.8.4.3.3 Noue à crémaillère à tasseau de fond
Un tasseau, généralement trapézoïdal, de 80 mm de hauteur est disposé au fond de la noue. Un couvre-joint de faîtage de 166 mm de développé coiffe le tasseau et les reliefs des éléments de noue. Il est fixé comme indiqué aux paragraphes 5.3.4.3 et 5.3.4.3.1. Le recouvrement ne sera pas inférieur à 0,08 m. Le type de raccordement entre élément de noue et les feuilles ou longues feuilles des versants est celui retenu pour le versant.
Le talon des couvre-joints de couverture doit s'arrêter au minimum à 0,300 m de l'axe du tasseau de noue. Les éléments de couverture sont agrafés dans les pinces ou bandes d'agrafure des éléments de noue, des contre-talons droits sont soudés au droit des tasseaux de couverture. Les couvre-joints de couverture sont terminés par un talon droit replié dans l'agrafure de l'élément de noue.
5.3.8.5 raccord brisis terrasson
5.3.8.5.1 raccord avec continuité des tasseaux et couvre-joints
Le couvre-joint de bris a une longueur développée limitée à 60 cm.
On distingue deux cas :
-
Raccord entre les éléments de couverture au-dessous de la ligne de bris (Figure 58a) ;
Le raccord est réalisé par un larmier qui doit recouvrir les éléments du brisis de 50 mm minimum. Cette solution n'est autorisée que pour les feuilles.
Raccord entre les éléments de couverture au-dessus de la ligne de bris (Figure 58b).
Le raccord est réalisé par une agrafure simple ou une double agrafure conformément aux prescriptions définies aux paragraphes 5.2.1 (Tableau 4) , 5.3.2.1 et 5.3.2.2.
Un jeu de 20 mm au minimum doit être ménagé entre le pli supérieur des éléments du brisis et la pince inférieure des éléments du terrasson.
 : Couverture par éléments métalliques en feuilles et longues feuilles en zinc/DTU 40.41 (NF P34-211-1) (septembre 2004)/image/fig_AIW_1_58.png)
Figure 58 Exemples de raccord brisis terrasson avec continuité des tasseaux - a) Au-dessous de la ligne de bris
 : Couverture par éléments métalliques en feuilles et longues feuilles en zinc/DTU 40.41 (NF P34-211-1) (septembre 2004)/image/fig_AIW_1_580.png)
Figure 58 Exemples de raccord brisis terrasson avec continuité des tasseaux - b) Au-dessus de la ligne de bris
5.3.8.5.2 raccord sans continuité des tasseaux et couvre-joints
Les feuilles du rampant supérieur se terminent par un larmier le long de la ligne de bris (Figure 59).
Les têtes des feuilles du rampant inférieur comportent une pince et les têtes de couvre-joints sont généralement traitées en patte d'oie.
 : Couverture par éléments métalliques en feuilles et longues feuilles en zinc/DTU 40.41 (NF P34-211-1) (septembre 2004)/image/fig_AIW_1_59.png)
Figure 59 Raccord brisis terrasson avec larmier
 : Couverture par éléments métalliques en feuilles et longues feuilles en zinc/DTU 40.41 (NF P34-211-1) (septembre 2004)/image/fig_AIW_1_60.png)
Figure 60 Raccord brisis terrasson avec membron
En raccord avec le larmier on peut interposer une bande de battellement ou un membron (Figure 60).
Les membrons doivent être posés par bout de 1,00 m. Toutefois, pour les développés de 0,500 m maximum, les longueurs de 2,00 m sont admises. Ils sont assemblés :
soit par des bagues (Figure 61). Il est dans ce cas nécessaire de placer des chemises de garantie sous les bagues de membrons ou tout autre ouvrage de jonction ;
soit par gaine soudée et recouvrement.
Ils sont maintenus en tête par des pattes d'agrafe en zinc et à leur partie inférieure par des pattes en cuivre étamé enroulées sur l'ourlet ou repliées sur la pince de pied. Quel que soit le type de raccord, le recouvrement du membron par le larmier des éléments du terrasson doit être de 30 mm minimum (Figures 60 et 61).
 : Couverture par éléments métalliques en feuilles et longues feuilles en zinc/DTU 40.41 (NF P34-211-1) (septembre 2004)/image/fig_AIW_1_61.png)
Figure 61 Raccord brisis terrasson avec membron avec bagues rapportées
5.3.8.6 raccordement sur les pénétrations continues (raccord contre mur)
Par pénétrations continues, on entend des ouvrages qui limitent la surface de la couverture sur sa périphérie : mur mitoyen, tête de pignon.
Le type de raccord est représenté sur la Figure 62. Un relevé de 0,090 m minimum est exécuté en tête et/ou sur le côté de la feuille ou longue feuille.
Les angles rentrants des reliefs sont soudés. Lorsque les angles des reliefs sont saillants, des goussets en zinc sont rapportés et soudés.
Les couvre-joints sont raccordés par des têtes ordinaires.
L'ouvrage est terminé par une bande de solin ou une bande en applique définie au chapitre 5.5.2. La rive inférieure de la bande de solin s'arrête à 0,03 m au minimum du plat de la couverture, elle est munie d'une pince ou d'un ourlet rechassé. Le recouvrement de la bande solin sur le relevé de la feuille est de 0,03 m minimum.
 : Couverture par éléments métalliques en feuilles et longues feuilles en zinc/DTU 40.41 (NF P34-211-1) (septembre 2004)/image/fig_AIW_1_62.png)
Figure 62 Exemple de raccord contre mur avec bande de solin
5.3.8.7 raccordement des pénétrations discontinues
5.3.8.7.1 la largeur de la pénétration est inférieure à celle d'une travée (sortie de ventilation, poteau,...)
La pénétration a une largeur inférieure à celle de la travée et laisse sur au moins un de ses côtés un passage d'eau de 10 cm minimum entre les tasseaux voisins et elle-même.
L'élément de couverture est découpé et relevé sur une hauteur 0,090 m de façon à pouvoir souder les goussets en V pour étancher la pénétration concernée. Une bande d'armature ou une bande porte-solin complète l'ouvrage. Si la forme de la pénétration est cylindrique, on procède comme pour une sortie de ventilation (paragraphe 5.5.4 figure 107).
5.3.8.7.2 la pénétration affecte deux ou plusieurs travées, sa largeur ayant moins de 3 mètres (cheminée, chassis, lanterneaux...)
Le raccordement se fait généralement comme illustré sur la Figure 63.
-
Sur le devant
Les feuilles ou longues feuilles entourant l'ouvrage sur le devant et sur les côtés reçoivent un relief de 0,090 m minimum.
-
Sur le derrière
Le passage d'eau sur les couloirs latéraux doit être assuré par une besace incorporée à un derrière indépendant. Les couloirs latéraux doivent avoir une largeur de 10 cm. Toutefois, dans le cas où un couloir est inférieur à 10 cm, on peut utiliser une besace asymétrique renvoyant l'eau sur le couloir opposé, à condition que sa largeur soit supérieure ou égale à 15 cm. On peut aussi étendre le derrière de besace sur plusieurs travées, au-delà du premier tasseau rencontré, celui-ci étant traité par une patte d'oie.
Le relief en tête de besace est au moins de 0,090 m. Le raccordement du derrière sur les éléments de côtés se fait par simple recouvrement avec pattes soudées. La valeur du recouvrement est fonction de la pente et est donnée aux paragraphes 5.3.2.2.1 (Tableau 9) et 5.3.2.2.2 avec un minimum de 0,100 m.
Le type de raccordement des feuilles ou longues feuilles sur le derrière de l'ouvrage est le même que celui du versant.
 : Couverture par éléments métalliques en feuilles et longues feuilles en zinc/DTU 40.41 (NF P34-211-1) (septembre 2004)/image/fig_AIW_1_63.png)
Figure 63 Entourage de cheminée avec bande de solin
5.3.8.7.3 la pénétration a une dimension transversale de plus de 3 m
Des dispositions spécifiques d'écoulement des eaux doivent être mises en place (chéneau, houteau...). Chacune d'elles doit faire l'objet d'une étude particulière selon les dispositions de la pénétration à traiter.
On tiendra compte au niveau de l'avant projet des incidences de ces dispositions sur la charpente ou sur l'esthétique de l'ouvrage.
Dans le cas d'un chéneau ce dernier sera réalisé par ressaut de charpente (coyaux) et dimensionné selon la surface de toiture située en amont de la pénétration (selon les règles du DTU 60.11). Le chéneau comprendra un dispositif de dilatation.
EXEMPLE Un chéneau de 200 × 200 × 100 réalisé avec une feuille de développé 500 offre la possibilité de traiter une surface projetée de 90 m² (soit approximativement 18 m de rampant amont pour une pénétration de largeur 5 m, dans le cas d'une pente de 5 %).
Dans le cas où l'eau est renvoyée sur des couloirs latéraux, ces derniers devront s'étendre sur au moins deux bacs en adoptant les dispositions décrites au 5.3.8.7.2.
On pourra également, afin d'évacuer les eaux par des descentes en rive, prolonger le chéneau au-delà de la pénétration, sur toute la largeur du rampant.
5.4 Mise en oeuvre des couvertures à joint debout en longues feuilles
5.4.1 Généralités
Le système de couverture à joint debout consiste à agrafer les éléments entre eux dans toute leur longueur par un double pliage des reliefs latéraux après interposition des pattes de fixation clouées ou vissées. Dans le cas de réparation, cette technique d'assemblage rend difficile le démontage non destructif des éléments endommagés, ce qui entraîne leur remplacement.
Pour l'exécution des supports de couverture il faut se reporter au paragraphe 5.1.3.1.
5.4.1.1 joint debout (assemblage longitudinal)
Le système de couverture à joint debout consiste à agrafer les feuilles entre elles dans le sens longitudinal par un double pliage des reliefs latéraux après interposition des pattes de fixation clouées ou vissées sur le support. La hauteur du joint fini doit être au minimum de 25 mm et celle des plis de 10 mm. Le profil fini de la feuille doit être conforme à celui de la Figure 64c en particulier un jeu de 5 mm doit être ménagé entre les bases des reliefs.
 : Couverture par éléments métalliques en feuilles et longues feuilles en zinc/DTU 40.41 (NF P34-211-1) (septembre 2004)/image/fig_AIW_1_64.png)
Figure 64 Joint debout
 : Couverture par éléments métalliques en feuilles et longues feuilles en zinc/DTU 40.41 (NF P34-211-1) (septembre 2004)/image/fig_AIW_1_65.png)
Figure 65 Joint debout [ pente > 173 % (60°)]
Pour les pentes supérieure à 173 % il est possible de ne fermer que le premier pli (Figure 65) soit manuellement avec l'outillage approprié, soit à l'aide d'une machine à sertir spéciale.
5.4.1.2 pentes et dimensions des longues feuilles
Les pentes minimales sont indiquées au Tableau 5 paragraphe 5.2.2. Les dimensions des longues feuilles sont définies au Tableau 6 paragraphe 5.2.3.
5.4.2 Exécution des parties courantes
5.4.2.1 exécution des reliefs latéraux
Les reliefs latéraux peuvent être exécutés par différents outillages. Ces machines façonnent simultanément les deux reliefs latéraux soit en amorçant les premières pliures profil 1 (Figure 66a), soit en donnant des reliefs inégaux de 35 et 45 mm de hauteur profil 2 (Figure 66b). Le profil Figure 66a donne lieu à un sertissage du joint en une seule passe (Figures 64a et c).
Dans le cas du profil figure 66b, le sertissage du joint se fait en deux passes (Figures 64b1, b2 et c).
 : Couverture par éléments métalliques en feuilles et longues feuilles en zinc/DTU 40.41 (NF P34-211-1) (septembre 2004)/image/fig_AIW_1_66.png)
Figure 66 Profil des feuilles
5.4.2.2 pattes de fixation
5.4.2.2.1 généralités
Les pattes de fixation fixes ou coulissantes sont adaptées aux profils utilisés (Figure 66) :
Les pattes sont en acier inoxydable conformément aux spécifications du paragraphe 4.3.3. Elles sont fixées à l'aide de pointes annelées en acier galvanisé ou non, ou à l'aide de vis. Le choix des fixations dépend de l'épaisseur des voliges, selon le Tableau 12 :
 : Couverture par éléments métalliques en feuilles et longues feuilles en zinc/DTU 40.41 (NF P34-211-1) (septembre 2004)/image/tab_AIW_1_12.png)
Tableau 12 Fixation des pattes à joint debout
A la pose, un jeu entre les pattes et la base des reliefs latéraux des éléments devra être ménagé. Les pattes fixes et coulissantes sont serties en même temps que le joint.
Les têtes de fixation ne doivent pas désaffleurer par rapport au plan des voliges.
 : Couverture par éléments métalliques en feuilles et longues feuilles en zinc/DTU 40.41 (NF P34-211-1) (septembre 2004)/image/fig_AIW_1_67.png)
Figure 67 Pattes de fixation pour profil 1
 : Couverture par éléments métalliques en feuilles et longues feuilles en zinc/DTU 40.41 (NF P34-211-1) (septembre 2004)/image/fig_AIW_1_68.png)
Figure 68 Pattes de fixation pour profil 2
5.4.2.2.2 espacement entre pattes de fixation
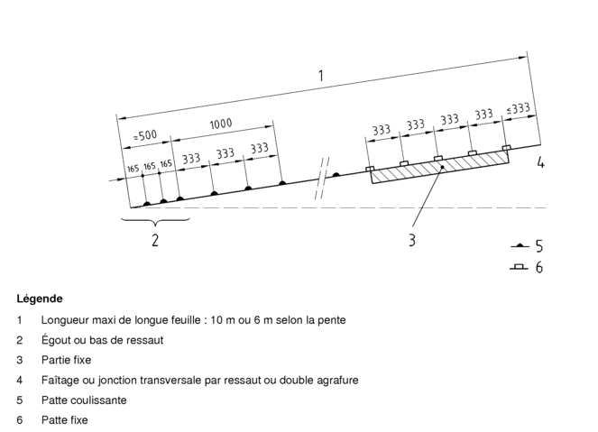
Les pattes fixes ou coulissantes sont disposées tous les 0,33 m en partie courante et en rive de couverture. A l'égout de versant ou de ressaut, l'entraxe entre pattes est de 0,165 m sur une longueur de 0,50 m (3 pattes). Le Tableau 13 précise les hauteurs de bâtiments ainsi que les zones de vent (en références aux règles NV 65) pour lesquelles ces dispositions sont applicables.
 : Couverture par éléments métalliques en feuilles et longues feuilles en zinc/DTU 40.41 (NF P34-211-1) (septembre 2004)/image/tab_AIW_1_13.png)
Tableau 13 Limites de hauteur des couvertures en feuilles et longues feuilles à joint debout
Dans le cas de couverture située en dehors de ces limitations de hauteurs, on appliquera les règles suivantes :
la largeur des feuilles est limitée à 500 mm ;
l'espacement entre pattes est calculé en fonction de la dépression de vent appliquée sur la couverture (déterminée selon les règles NV 65 modifiées 99) et de la résistance admissible au vent extrême de 50 daN des pattes décrites au chapitre 5.4.2.2. L'espacement ne pourra être supérieur à 0,33 m.
EXEMPLE A titre d'exemple, l'espacement entre pattes de fixation en rives de bâtiment pourra être réduit à 0,25 m (0,33 m en partie courante). Dans ce cas, les hauteurs de bâtiments admissibles sont celles indiquées entre parenthèses dans le Tableau 13.
5.4.2.2.3 positionnement des pattes fixes et coulissantes
Pour répartir les effets des mouvements thermiques (dilatations, retraits) on doit réaliser une " partie fixe ". Sa position est déterminée par la longueur des longues feuilles ainsi que par la pente du versant. Quel que soit le profil et le type de patte, la partie fixe est réalisée à l'aide de cinq pattes fixes dont l'espacement est défini au 5.4.2.2.2. On distingue deux cas :
pente comprise entre 5 % et 60 % : la partie fixe est positionnée au plus à 10 m de la partie basse des longues feuilles. Les pattes coulissantes sont positionnées selon les cas de part et d'autre de la partie fixe (Figure 69) ;
pente supérieure à 60 % : la partie fixe est située en tête des longues feuilles (Figure 70).
A l'égout de versant ou de ressaut, les espacements entre pattes coulissantes sont divisés par deux sur une longueur minimum de 0,50 m (3 pattes). La première patte est placée au plus à un demi-espacement de l'égout (Figure 71).
En tête de longue feuille, la dernière patte (fixe ou coulissante) doit être placée à 0,33 m au plus du faîtage ou de la jonction avec les éléments supérieurs (ressaut, double agrafure). Cet espacement est ramené à 0,25 m dans le cas de renforcement évoqué au 5.4.2.2.2.
 : Couverture par éléments métalliques en feuilles et longues feuilles en zinc/DTU 40.41 (NF P34-211-1) (septembre 2004)/image/fig_AIW_1_69.png)
Figure 69 Répartition des pattes coulissantes et fixes - Pente de 5 % à 60 %
 : Couverture par éléments métalliques en feuilles et longues feuilles en zinc/DTU 40.41 (NF P34-211-1) (septembre 2004)/image/fig_AIW_1_70.png)
Figure 70 Répartition des pattes coulissantes et fixes - Pente supérieure à 60 %
 : Couverture par éléments métalliques en feuilles et longues feuilles en zinc/DTU 40.41 (NF P34-211-1) (septembre 2004)/image/fig_AIW_1_71.png)
Figure 71 Répartition des pattes coulissantes en partie inférieure à l'égout ou au ressaut
5.4.2.3 pente minimale - choix et exécution des assemblages transversaux
Le choix de la jonction transversale est fonction de la pente (voir Tableau 5 paragraphe 5.2.2). Deux cas peuvent se présenter :
la longueur du rampant est supérieure à la longueur admissible des longues feuilles ;
la longueur du rampant est inférieure ou égale à la longueur admissible des longues feuilles.
On rappelle que l'agrafure transversale à joint debout n'est utilisable que pour les raccordements autour des pénétrations. Cette jonction crée un point fixe.
5.4.2.3.1 longueur de rampant supérieure à la longueur admissible des longues feuilles
5.4.2.3.1.1 Jonction transversale par ressaut
Pour les pentes comprises entre 5 et 173 %, on peut réaliser les jonctions transversales entre les éléments par ressaut en respectant les longueurs d'éléments des paragraphes 5.2.3, Tableau 6.
Les hauteurs courantes du ressaut sont : 0,080 m et 0,100 m (Figures 72a et b). Les joints peuvent être alignés ou alternés.
La hauteur du ressaut peut être ramenée à 0,050 m (Figure 72c) pour les pentes ≥ 10 %. Dans ce cas, seule la finition par joint couché du gradin inférieur avec un retour de 35 mm et bande d'égout de ressaut peut être utilisée.
Le couchage des joints debout est une opération délicate qui doit être réalisée avec précaution afin de ne pas bloquer la dilatation.
Les jeux permettant les mouvement thermiques sont indiqués aux Figures 72a, b, c.
 : Couverture par éléments métalliques en feuilles et longues feuilles en zinc/DTU 40.41 (NF P34-211-1) (septembre 2004)/image/fig_AIW_1_72.png)
Figure 72 Jonction transversale par ressaut
5.4.2.3.1.2 Jonction transversale par recouvrement avec agrafure dite " double agrafure "
Lorsque la pente le permet (voir Tableau 5 paragraphe 5.2.2), on peut exécuter les jonctions transversales entre les éléments par " double agrafure ". Dans ce cas, la longueur des éléments est limitée à 10 mètres pour les pentes inférieures ou égales à 173 % et 6 m au delà (voir Tableau 6). Après sertissage, les joints debout des éléments inférieurs sont couchés et une pince de 30 mm est façonnée en tête des longues feuilles qui seront fixées par deux pattes à feuilles agrafées dans cette pince. En dessous une bande d'agrafure de 80 mm est rapportée et soudée. Au bas de l'élément supérieur une pince de 60 mm sera façonnée et agrafée dans la bande d'agrafure de l'élément inférieur avec un jeu de 15 mm (Figure 73a).
Un jeu de 20 mm doit être laissé entre le nez de l'élément supérieur et la pliure du joint couché de l'élément inférieur (Figures 73a, b et c).
Les recouvrements sont de 180 mm ou 250 mm déterminés en fonction de la pente selon le Tableau 5.
Pour les pentes supérieure à 173 % jusqu'à la verticale et pour les longueurs d'éléments inférieures ou égales à 6,00 m et dans le cas où seul le premier pli du joint debout est fermé, on peut réaliser une jonction transversale par agrafure simple de 60 mm (Figures 17a et b).
 : Couverture par éléments métalliques en feuilles et longues feuilles en zinc/DTU 40.41 (NF P34-211-1) (septembre 2004)/image/fig_AIW_1_73.png)
Figure 73 Jonction transversale par double agrafure
5.4.2.3.1.3 Réalisation de la partie fixe pente supérieure à 60 %
-
Longues feuilles de longueur comprise entre 3 et 10 m, pente > 60 % jusqu'à à 173 %
Pour les couvertures à ressaut, à double agrafure ou à travée continue, la partie fixe est réalisée par cinq pattes fixes placées en tête comme indiqué au paragraphe 5.4.2.2.3 et Figure 70. Pour empêcher que les éléments puissent glisser, ils seront fixés en tête comme indiqué ci-dessous :
pour les couvertures à ressaut, en travée continue, ainsi que pour les éléments de faîtage, par deux pattes supplémentaires soudées sur le relief de tête au ressaut ou au faîtage et clouées sur le voligeage ou le relief de faîtage (Figures 74 a et b) ;
-
pour les couvertures à double agrafure, une patte à feuille supplémentaire de 120 mm de largeur agrafée et soudée sur la pince de tête sera placée entre les deux pattes à feuilles (Figure 74c).
 : Couverture par éléments métalliques en feuilles et longues feuilles en zinc/DTU 40.41 (NF P34-211-1) (septembre 2004)/image/fig_AIW_1_74.png)
Figure 74 Fixation en tête pente 60 % à 173 %
-
Longues feuilles de longueur comprise entre 3 et 10 m, pente > 173 % jusqu'à la verticale
Dans ce cas, la réalisation de la partie fixe peut être réalisée de deux manières et dépend de la finition du joint debout : soit il est complètement serti (Figure 64c), soit seul le premier pli est fermé (Figure 65) :
joint debout complètement fermé (Figure 64c) : seule la couverture à double agrafure est visée (paragraphe 5.4.2.3.1.2), la partie fixe et la fixation en tête sont réalisées comme indiqué au paragraphe 5.4.2.3.1.3.a) - point 2) ;
seul le premier pli du joint debout est fermé (Figure 65) : la partie fixe et la fixation en tête sont assurées par une bande de zinc de 0,120 m de largeur soudée sous la pince de tête de la longue feuille (Figure 17a) ; elle devra s'arrêter à 30 mm des reliefs latéraux à joint debout (Figure 17b). Cette bande sera fixée sur le support soit par des clous, soit par des vis espacés de 50 mm et placés en quinconce, le premier et le dernier se trouvant à 30 mm des bords latéraux (Figure 17b). La jonction avec les éléments supérieurs peut s'effectuer par double agrafure (Figure 17c) avec recouvrement de 0,140 m dans ce cas, et pour les éléments de tête, la pince de tête sera de 30 mm ou par agrafure simple, de 60 mm (Figure 17a).
Les éléments à joint debout sont fixés sur le support uniquement par des pattes coulissantes pour permettre les mouvements thermiques. Les agrafures simples ou doubles peuvent être alignées ou en taille de pierre.
5.4.2.3.2 longueur de rampant inférieure ou égale à la longueur admissible des longues feuilles
Dans ce cas, la couverture est traitée en travée continue dans les limites des longueurs permises suivant la pente (voir Tableau 6), les éléments comportant un égout et une tête, la répartition des pattes de fixation étant réalisée comme prévu aux paragraphes 5.4.2.2.2 et 5.4.2.2.3 Figures 69 et 70.
Toutefois, pour éviter des manipulations, la travée pourra être décomposée en plusieurs éléments raccordés suivant la pente, par double agrafure ou agrafure simple non dilatante en fonction de la pente (Tableau 5 - paragraphe 5.2.2). L'ensemble se comportant vis-à-vis des mouvements thermiques (dilatations, retraits) comme une travée continue, les pattes de fixation (fixes et coulissantes) seront placées comme indiqué aux paragraphes 5.4.2.2.2 et 5.4.2.2.3 Figures 69 et 70.
5.4.2.3.2.1 Jonction transversale par " double agrafure " non dilatante
La jonction transversale est exécutée à recouvrement avec agrafure dite " double agrafure " (Figures 75a et b).
L'élément inférieur comprend en tête une pince de 30 mm qui remonte sur les reliefs latéraux sur une hauteur de 15 mm et en dessous une bande d'agrafure de 60 mm est rapportée et soudée, cette bande remonte elle aussi de 15 mm sur les reliefs latéraux.
Au bas de l'élément supérieur, une pince de 30 mm sera façonnée et agrafée dans la bande d'agrafure de l'élément inférieur pour éviter des surépaisseurs la pince ne remontera pas derrière les reliefs latéraux.
Le recouvrement est précisé dans le Tableau 5. Les pinces sont découpées en biais.
 : Couverture par éléments métalliques en feuilles et longues feuilles en zinc/DTU 40.41 (NF P34-211-1) (septembre 2004)/image/fig_AIW_1_75.png)
Figure 75 Double agrafure non dilatante
 : Couverture par éléments métalliques en feuilles et longues feuilles en zinc/DTU 40.41 (NF P34-211-1) (septembre 2004)/image/fig_AIW_1_76.png)
Figure 76 Agrafure simple
5.4.2.3.2.2 Jonction transversale par agrafure simple non dilatante
La jonction transversale peut être exécutée à agrafure simple de 40 mm minimum (Figure 76).
Les éléments inférieurs comprennent une pince de 40 mm rabattue par dessus la partie supérieure de la feuille et qui remonte de 15 mm sur les reliefs latéraux.
Au bas de l'élément supérieur, une pince de 40 mm rabattue par dessous sera façonnée ; elle se retournera sur les reliefs latéraux sur une hauteur de 25 mm. Ensuite, les deux pinces seront agrafées.
Pour éviter les surépaisseurs qui pourraient gêner le sertissage des joints, on décale les jonctions transversales en taille de pierre (Figure 77).
 : Couverture par éléments métalliques en feuilles et longues feuilles en zinc/DTU 40.41 (NF P34-211-1) (septembre 2004)/image/fig_AIW_1_77.png)
Figure 77 Répartition des jonctions transversales en taille de pierre
5.4.3 Raccords d'ouvrages continus
5.4.3.1 egout et bas de ressaut
Le raccordement du bas de versant avec les évacuations d'eaux pluviales et la partie basse d'un ressaut se font soit directement par un larmier (Figure 78), soit par une bande d'égout simple (Figure 79) ou à dilatation (figures 80, 81, 82, 83, 84, 85), bande de battellement...
Dans le cas où il n'y a pas de bande d'égout, il faut mettre sous chaque nez de joint une chemise de garantie (Figure 78).
Le recouvrement du larmier ou de la bande d'égout sur le relief (au ressaut ou à l'égout) doit être au minimum de 30 mm.
 : Couverture par éléments métalliques en feuilles et longues feuilles en zinc/DTU 40.41 (NF P34-211-1) (septembre 2004)/image/fig_AIW_1_78.png)
Figure 78 Egout avec chemise de garantie
 : Couverture par éléments métalliques en feuilles et longues feuilles en zinc/DTU 40.41 (NF P34-211-1) (septembre 2004)/image/fig_AIW_1_79.png)
Figure 79 Egout avec bande d'égout
 : Couverture par éléments métalliques en feuilles et longues feuilles en zinc/DTU 40.41 (NF P34-211-1) (septembre 2004)/image/fig_AIW_1_80.png)
Figure 80 Egout droit avec bande d'égout spéciale à dilatation
 : Couverture par éléments métalliques en feuilles et longues feuilles en zinc/DTU 40.41 (NF P34-211-1) (septembre 2004)/image/fig_AIW_1_81.png)
Figure 81 Bande d'égout spéciale avec joint couché et enroulé
 : Couverture par éléments métalliques en feuilles et longues feuilles en zinc/DTU 40.41 (NF P34-211-1) (septembre 2004)/image/fig_AIW_1_82.png)
Figure 82 Bande d'égout spéciale avec joint droit et languette rabattue et soudée
 : Couverture par éléments métalliques en feuilles et longues feuilles en zinc/DTU 40.41 (NF P34-211-1) (septembre 2004)/image/fig_AIW_1_83.png)
Figure 83 Bande d'égout spéciale et languette étirée
 : Couverture par éléments métalliques en feuilles et longues feuilles en zinc/DTU 40.41 (NF P34-211-1) (septembre 2004)/image/fig_AIW_1_84.png)
Figure 84 Bande d'égout spéciale et langue de chat
Les jeux à respecter sont indiqués pour les égouts et/ou bas de ressaut Figures 72a, b et cet Figure 85 pour l'égout.
En zones de vent 1 et 2, site exposé, et en zones de vent 3 et 4 tout site, la bande d'égout à dilatation est maintenue par des bandes et pattes d'agrafe.
 : Couverture par éléments métalliques en feuilles et longues feuilles en zinc/DTU 40.41 (NF P34-211-1) (septembre 2004)/image/fig_AIW_1_85.png)
Figure 85 Bande d'égout spéciale et jeux (dilatations, retraits)
5.4.3.2 reliefs de tête aux ressauts
Les reliefs de tête aux ressauts sont traités de manière analogue aux reliefs de faîtage ou aux reliefs contre émergences (paragraphes 5.4.3.4, Figures 88a et b, 5.4.3.7, Figures 95 et 96).
La hauteur des ressauts est de 50 mm minimum (voir paragraphe 5.4.2.3.1.1 Figures 72a, b et c). La finition du joint debout du gradin inférieur au ressaut par tête de joint debout implique une hauteur de ressaut de 80 mm minimum (Figure 72b).
5.4.3.3 rives
Les règles générales du chapitre 5.3.8.3 s'appliquent sous réserve des dispositions complémentaires décrites dans ce paragraphe.
On peut également utiliser une bande de rive agrafée (Figures 86a et b).
On peut aussi utiliser une bande de rive à joint debout de développé maxi 250 mm et longueur maxi 6 m. Les dispositions de fixation de ces bandes de rives sont analogues à celles des feuilles sur lesquelles la rive se raccorde.
Les rives biaises que fuit l'eau sont exécutées comme un arêtier, c'est-à-dire, que le bandeau ou la planche de rive est posé après couchage des joints et façonnage du relief. On peut également traiter cet ouvrage en laissant les joints droits avec tête de joint debout sur les reliefs de tête (Figure 88b).
Les rives biaises qui reçoivent l'eau sont exécutées comme des demi noues et comme les rives droites pour la partie bande de rive. On peut également les traiter avec un chéneau ou une gouttière.
Si le biais de la rive se rapporte au plus à cinq travées (la plus longue étant limitée à 15 m), la rive pourra être exécutée comme les rives biaises que fuit l'eau et les joints seront couchés vers le bas (Figures 87a et b), la hauteur du relief étant de 90 mm minimum.
 : Couverture par éléments métalliques en feuilles et longues feuilles en zinc/DTU 40.41 (NF P34-211-1) (septembre 2004)/image/fig_AIW_1_86.png)
Figure 86 Bande de rive agrafée
 : Couverture par éléments métalliques en feuilles et longues feuilles en zinc/DTU 40.41 (NF P34-211-1) (septembre 2004)/image/fig_AIW_1_87.png)
Figure 87 Rive biaise avec joints couchés
5.4.3.4 faîtages ou arêtiers
Ces ouvrages peuvent être exécutés de deux façons :
soit avec un tasseau de faîtage ou d'arêtier qui est généralement trapézoïdal (Figures 88a et b) ;
soit à joint debout sur arêtier et faîtage (Figures 89a, b et c). Dans ce cas les joints debout seront décalés entre les rampants.
On peut également utiliser un faîtage ventilé (voir paragraphe 5.6.5.2, Figures 110, 111, 112, 113 et 114).
 : Couverture par éléments métalliques en feuilles et longues feuilles en zinc/DTU 40.41 (NF P34-211-1) (septembre 2004)/image/fig_AIW_1_88.png)
Figure 88 Faîtage ou arêtier à tasseau
 : Couverture par éléments métalliques en feuilles et longues feuilles en zinc/DTU 40.41 (NF P34-211-1) (septembre 2004)/image/fig_AIW_1_89.png)
Figure 89 Faîtage ou arêtier à joint debout
Les couvre-joints de faîtage et d'arêtier sont posés comme indiqué aux paragraphe 5.3.8.2.3. Les faîtages de couverture à rampant unique sont traités soit comme des rives avec tasseau soit comme des rives avec une planche de bandeau (voir Figures 113 et 114).
On peut également exécuter le faîtage avec une bande d'égout, les jeux à respecter étant indiqués à la Figure 90.
 : Couverture par éléments métalliques en feuilles et longues feuilles en zinc/DTU 40.41 (NF P34-211-1) (septembre 2004)/image/fig_AIW_1_90.png)
Figure 90 Faîtage avec bande spéciale
5.4.3.5 noues
Les noues s'exécutent comme décrit au paragraphe 5.3.8.4.
Pour tous les types de noues, il faut prévoir un jeu entre les éléments de couverture et ceux de la noue, ils seront les mêmes que ceux indiqués pour les différents types de jonction ; agrafure sur jonction double, ressaut larmiers... ; en tenant compte de la longueur maximale des feuilles ou longues feuilles de couverture.
On peut également réaliser une noue encaissée avec coyau (figure 92), la cassure de pente étant de 5 % maxi.
 : Couverture par éléments métalliques en feuilles et longues feuilles en zinc/DTU 40.41 (NF P34-211-1) (septembre 2004)/image/fig_AIW_1_91.png)
Figure 91 Noue à double agrafure
 : Couverture par éléments métalliques en feuilles et longues feuilles en zinc/DTU 40.41 (NF P34-211-1) (septembre 2004)/image/fig_AIW_1_92.png)
Figure 92 Noue encaissée avec coyau
On peut également exécuter une noue avec joint debout de fond. Ce joint aura une hauteur finie de 100 mm maximum, les plis comme pour le faîtage (Figure 89) feront 20 mm côté couverture. Les bords seront exécutés comme indiqué au Tableau 11 pour les noues à tasseau de fond et maintenus par des pattes clouées. Les relevés de 140 mm et 120 mm seront pliés manuellement. Le relevé de 140 mm peut être fixé sur le support à l'aide de pattes clouées, agrafées sur des pontets soudés sur celui-ci. La longueur totale de la noue ne doit pas être supérieure à 13 m et ne comportera aucune jonction (Figure 93).
 : Couverture par éléments métalliques en feuilles et longues feuilles en zinc/DTU 40.41 (NF P34-211-1) (septembre 2004)/image/fig_AIW_1_93.png)
Figure 93 Noue à joint debout
5.4.3.6 raccord brisis - terrasson
Le raccord est réalisé soit avec un égout agrafé selon le principe de la Figure 72c, soit avec un larmier (Figure 78), soit avec une bande d'égout simple (Figure 79) ou à dilatation (Figure 94a).
On peut également interposer une bande de battellement ou un membron (Figure 94b).
Les joints des feuilles du brisis sont couchés ou droits. En tête ces feuilles comportent une pince.
 : Couverture par éléments métalliques en feuilles et longues feuilles en zinc/DTU 40.41 (NF P34-211-1) (septembre 2004)/image/fig_AIW_1_94.png)
Figure 94 Raccordement brisis terrasson avec entrée de ventilation (a) ou avec membron (b)
5.4.3.7 raccordement sur des pénétrations continues (raccord contre mur)
Ce type de raccord peut être exécuté de deux manières :
avec continuité du joint debout (Figure 95) ; cette solution ne peut être utilisée que pour des pentes de rampant 5 % (3°) ≤ p ≤ 36 % (20°) ;
avec discontinuité du joint debout la liaison entre les deux éléments de couverture étant réalisée par une tête de joint debout sur les reliefs de tête (Figure 96).
L'ouvrage est terminé par une bande de solin ou une bande en applique définie au chapitre 5.5.2.
 : Couverture par éléments métalliques en feuilles et longues feuilles en zinc/DTU 40.41 (NF P34-211-1) (septembre 2004)/image/fig_AIW_1_95.png)
Figure 95 Exemple de raccord contre mur avec continuité du joint et bande de solin
 : Couverture par éléments métalliques en feuilles et longues feuilles en zinc/DTU 40.41 (NF P34-211-1) (septembre 2004)/image/fig_AIW_1_96.png)
Figure 96 Exemple de raccord contre mur à joint discontinu et bande de solin
5.4.3.8 raccordement de pénétrations discontinues
5.4.3.8.1 la largeur de la pénétration est inférieure à celle d'une travée (sortie de ventilation, poteau...)
Le raccord est réalisé comme décrit au paragraphe 5.3.8.7.1.
5.4.3.8.2 la pénétration affecte deux ou plusieurs travées, sa largeur ayant moins de 3,00 m (cheminée, châssis, lanternaux...)
Les assemblages transversaux entre les longues feuilles de couverture et les éléments constituant les devant et derrière de pénétrations peuvent être réalisés suivant la pente :
soit par agrafure à joint debout ;
soit par agrafure double ou simple.
Les reliefs latéraux ainsi que ceux aval et amont ont une hauteur minimale de 90 mm.
En amont les pénétrations comportent des besaces renvoi d'eau, celles-ci sont supportées par une forme en bois.
L'étanchéité entre la pénétration et les reliefs des éléments de couverture et du derrière est réalisée par une bande de solin ou une bande d'armature de costière (voir chapitre 5.5.2).
5.4.3.8.2.1 Raccordement à système d'agrafage à joint debout
Ce type de raccordement crée une partie fixe.
L'agrafage des éléments entourant la pénétration aux éléments de couverture est réalisé par agrafure à joint debout rabattu. L'agrafe transversale est agrafée en position verticale en y incorporant l'agrafe longitudinale puis elle est rabattue.
Les angles sont réalisés par pliages en coin de mouchoir et agrafage à joint debout (Figures 97 et 98). A l'aval, le raccord du joint peut être réalisé comme indiqué au paragraphe 5.4.3.7.
 : Couverture par éléments métalliques en feuilles et longues feuilles en zinc/DTU 40.41 (NF P34-211-1) (septembre 2004)/image/fig_AIW_1_97.png)
Figure 97 Vues de devant
 : Couverture par éléments métalliques en feuilles et longues feuilles en zinc/DTU 40.41 (NF P34-211-1) (septembre 2004)/image/fig_AIW_1_98.png)
Figure 98 Vue de derrière
5.4.3.8.2.2 Raccordement par agrafure double ou simple
Si la pente le permet (voir Tableau 5, paragraphe 5.2.2), la liaison entre les éléments de côté de la couverture et le derrière est réalisée par simple recouvrement (Figure 99a), celle entre le derrière et les éléments de couverture amont par double agrafure (Figure 99b) ou simple agrafure. Dans le cas de la simple agrafure, il est nécessaire de placer une chemise de garantie sous chaque nez de joint.
 : Couverture par éléments métalliques en feuilles et longues feuilles en zinc/DTU 40.41 (NF P34-211-1) (septembre 2004)/image/fig_AIW_1_99.png)
Figure 99 Raccordement de pénétration discontinue par recouvrement (a) et agrafure double (b)
Dans tous les cas, il faut laisser un jeu de 10 à 15 mm entre la pénétration et la base des reliefs.
5.4.3.8.3 la pénétration a une dimension transversale de plus de 3 m
Le raccord est réalisé selon le principe décrit au paragraphe 5.3.8.7.3.
5.5 Ouvrages communs aux couvertures à tasseaux et couvre-joints et à joint debout
5.5.1 Couvertures cintrées convexes
Les couvertures cintrées convexes sont admises dans le cadre de la présente norme lorsque le rayon de courbure de la couverture est inférieur ou égal à 60 m. Deux cas sont possibles :
si la longueur entre le point le plus bas et le point le plus haut est inférieure ou égale à 10 m, la continuité des jonctions longitudinales (suivant le rampant) est admise (Figures 100a et b).
-
si cette longueur est supérieure à 10 m, on peut :
soit mettre au point le plus haut un faîtage (Figure 100c), dans ce cas, on respectera une pente minimum de 5 % pour le raccordement au faîtage
soit décomposer cette longueur en plusieurs tronçons séparés par des jonctions transversales (selon la pente) (Figure 100d).
Dans le cas des couvertures de forme cintrée, la limitation de la longueur des feuilles s'applique à chaque partie du versant de part et d'autre du point le plus haut.
 : Couverture par éléments métalliques en feuilles et longues feuilles en zinc/DTU 40.41 (NF P34-211-1) (septembre 2004)/image/fig_AIW_1_100.png)
Figure 100 Couvertures cintrées convexes
Les dispositions de ventilation sont précisées aux paragraphe 5.6.2, 5.6.3 et 5.6.4.
Dans le cas des couvertures cintrées convexes, on admet une zone à pente inférieure à 5 % pour autant qu'elle soit située au sommet avec une dimension maximale de 6 m (3 m de chaque coté du sommet). Seule la ligne de faîtage est à pente nulle.
5.5.1.1 couverture à tasseaux et couvre-joints
Dans ce cas on place à 0,250 m de part et d'autre de la ligne de faîtage un point fixe comme indiqué au paragraphe 5.3.1.5.1 et Figure 14.
5.5.1.2 couverture à joint debout
Dans ce cas la partie fixe est réalisée par cinq pattes fixes espacées comme indiqué au chapitre 5.4.2.2.2, la troisième patte étant placée sur la ligne de faîtage. Les pattes coulissantes sont distribuées comme indiqué au paragraphe 5.4.2.2.3.
5.5.2 Bandes de raccordement sur pénétration
5.5.2.1 bandes de solin normalisées
Les bandes de solin sont conformes à la norme NF P 34-402.
La rive inférieure de la bande de solin s'arrête à 30 mm au minimum du plat de la couverture, elle est munie d'une pince ou d'un ourlet rechassé.
Les bandes sont posées par éléments de longueur inférieure ou égale à 2,00 m. Elles sont fixées à leur partie supérieure à raison de 2,5 fixations par mètre (0,40 m) et maintenues en partie inférieure par des pattes soudées (2,5 par mètre) sur le relevé des feuilles et rabattues sur l'ourlet ou sur la pince (Figures 101 et 102a) ou par des pattes droites soudées sur la partie cachée de la bande porte de solin (Figure 102b). Le recouvrement entre deux éléments successifs doit être de 0,100 m en commençant par le bas suivant le rampant (Figure 102) et en tenant compte des vents de pluie dominants pour les parties horizontales (Figure 62). Les angles rentrant ou sortant sont réalisés par coupe d'onglet et soudés.
L'épaulement de la bande peut :
soit venir se loger dans une engravure pratiquée dans la maçonnerie, remplie ensuite de mortier avec finissage en solin (Figure 101) ;
soit être recouvert d'un solin en talus partant de l'arête extérieure de la bande et rejoignant le parement de la maçonnerie (Figures 102a et b).
Dans ces deux cas, pour obtenir une bonne liaison entre bande et mortier, on entaille le relief supérieur de la bande (Figures 101 et 102). La nature du solin dépend de la maçonnerie, de la pénétration ; il est en mortier bâtard. Le plâtre est réservé aux solins se raccordant sur des enduits en plâtre. Dans le cas où la maçonnerie et le solin ne sont pas compatibles (cas notamment du béton armé), on peut adopter la solution indiquée au paragraphe 5.5.2.3 - Bandes de solin porte-mastic.
 : Couverture par éléments métalliques en feuilles et longues feuilles en zinc/DTU 40.41 (NF P34-211-1) (septembre 2004)/image/fig_AIW_1_101.png)
Figure 101 Bande de solin engravée à ourlet rechassé
 : Couverture par éléments métalliques en feuilles et longues feuilles en zinc/DTU 40.41 (NF P34-211-1) (septembre 2004)/image/fig_AIW_1_102.png)
Figure 102 Bande de solin à biseau en applique avec solin en talus
5.5.2.2 bandes à rabattre
En raccord avec les pénétrations constituées par les ouvrages en bois, on substitue à la bande de solin une bande à rabattre avec calfeutrement au moyen de mastics élastomères dont l'adhérence au béton, à la maçonnerie ainsi qu'au zinc doit être justifiée. Les qualités des mastics sont appréciés sur la base des normes d'essais NF P 85-501 à 506 et NF P 85-511 à 515.
Les mastics élastomères classés 1re catégorie SNJF Façade répondent à cette exigence.
 : Couverture par éléments métalliques en feuilles et longues feuilles en zinc/DTU 40.41 (NF P34-211-1) (septembre 2004)/image/fig_AIW_1_103.png)
Figure 103 Bande à rabattre
5.5.2.3 bandes de solin porte-mastic
Ces bandes sont utilisées pour réaliser, en particulier, les raccordements dans le cas de mur en béton (banché, en panneau préfabriqué) ou en maçonnerie d'éléments pleins enduits (enduit hydraulique exclusivement). Elles sont également utilisées pour des maçonneries d'éléments creux enduits avec fixations correspondantes à ce type d'élément.
Ces bandes comportent un profil ouvert dans leur partie supérieure. Cette partie doit être étanchée au moyen de mastic élastomère défini au 5.5.2.2. La section minimale du joint doit être de 1 cm² (Figure 104a). Les surfaces en contact avec le mastic, mur et bande de solin en zinc, devront être propres, exemptes de poussières et salissures pouvant empêcher l'adhérence du mastic d'étanchéité.
Les types de mastics pouvant être utilisés sont les mastics élastiques ou les mastics plastiques, éventuellement les mastics en bandes préformées, en vérifiant auprès du fabricant la compatibilité de ces produits avec la bande de zinc et si une préparation de la surface du zinc est nécessaire.
Les bandes de solin porte-mastic sont posées comme indiqué au paragraphe 5.5.2.1, à l'exception des fixations et de la nature du solin. Le recouvrement entre deux éléments successifs doit être de 0,050 m minimum avec une fixation au centre du recouvrement (Figure 104b).
Elles sont généralement fixées sur la maçonnerie à l'aide de vis-chevilles.
 : Couverture par éléments métalliques en feuilles et longues feuilles en zinc/DTU 40.41 (NF P34-211-1) (septembre 2004)/image/fig_AIW_1_104.png)
Figure 104 Bande de solin porte-mastic
5.5.3 Joint de dilatation
Des dispositions doivent être prises pour poursuivre en toiture les joints de construction des murs porteurs. Les dispositifs de dilatation ne doivent pas porter atteinte à l'étanchéité du toit, ni par leur forme, ni par leur fixation.
La fermeture du joint est assurée par un profil en zinc comportant obligatoirement une dilatation. Ce profil vient s'agrafer dans des bandes d'agrafes ou dans le relevé latéral des feuilles de zinc (Figure 105). Les fixations doivent permettre la libre dilatation du joint lui-même ainsi que celle des raccords et agrafes des bords. Les jonctions entre éléments s'effectuent par recouvrement de 0,10 m. On peut également réaliser ces joints avec des couvre-joint à soufflet.
 : Couverture par éléments métalliques en feuilles et longues feuilles en zinc/DTU 40.41 (NF P34-211-1) (septembre 2004)/image/fig_AIW_1_105.png)
Figure 105 Exemple de joint de dilatation
5.5.4 Sortie en toiture des tuyaux de ventilation de chute
Le passage des tuyaux dans la couverture doit être fait à libre dilatation et assurer l'étanchéité. Cette sortie peut être faite :
par chatière à douille adaptée (Figure 106) ;
par tuyau à douille et collerette (Figure 107).
L'ouverture de passage pratiquée dans la feuille de zinc comporte un relief. Une douille est soudée sur la feuille et une manchette tronconique en zinc ou en plomb, façonnée à la demande, est fixée au tuyau par collier boulonné ou par soudure continue. Un chapeau vient coiffer le tuyau.
 : Couverture par éléments métalliques en feuilles et longues feuilles en zinc/DTU 40.41 (NF P34-211-1) (septembre 2004)/image/fig_AIW_1_106.png)
Figure 106 Sortie de ventilation par chatière à douille
 : Couverture par éléments métalliques en feuilles et longues feuilles en zinc/DTU 40.41 (NF P34-211-1) (septembre 2004)/image/fig_AIW_1_107.png)
Figure 107 Sortie de ventilation par tuyau à douille et collerette
5.6 Ventilation de la couverture
5.6.1 Généralités
Les dispositions de ventilation définies ci-après s'appliquent aux couvertures planes ou cintrées de bâtiment à faible ou moyenne hygrométrie.
Deux cas peuvent se présenter :
cas de la couverture sur comble perdu avec ou sans isolation sur plancher (Figures 108 et 110a) ;
cas de la couverture avec isolation thermique sous rampant (Figures 109 et 110b).
La ventilation de l'espace sous couverture doit en outre permettre de maintenir les bois de charpente et support de couverture à un taux de siccité convenable afin d'en assurer la conservation et le maintien des caractéristiques d'utilisation ainsi que d'éviter la présence permanente d'eau de condensation entre le support et la sous face du zinc.
5.6.2 Cas de la couverture (plane ou cintrée) sur comble perdu
La section totale des orifices de passage d'air doit être au moins égale à 1/5000 de la surface projetée de la couverture sur un plan horizontal.
La ventilation peut être assurée :
soit par des chatières réparties régulièrement sur l'ensemble de la couverture ;
soit par une entrée d'air linéaire en partie basse et une sortie d'air linéaire en partie haute de la couverture ;
soit par des ouvertures en pignons.
Pour tous les cas la section totale des orifices étant répartie par moitié en partie haute et basse.
Dans tous les cas, les ouvertures en pignons ne pourront être utilisées que si la distance entre les murs est inférieure ou égale à 12 m et pour autant qu'il n'y ait pas d'écran entre les deux murs.
 : Couverture par éléments métalliques en feuilles et longues feuilles en zinc/DTU 40.41 (NF P34-211-1) (septembre 2004)/image/fig_AIW_1_108.png)
Figure 108 Couverture plane ou cintrée avec faîtage sur comble perdu
5.6.3 Cas de la couverture plane avec une isolation thermique sous rampant
La section totale, des orifices de passage d'air doit être au moins égale à 1/3000 de la surface projetée de la couverture sur un plan horizontal.
La ventilation est assurée :
soit par une entrée d'air linéaire en partie basse et une sortie d'air linéaire en partie haute de la couverture (Figure 109a) ;
soit par une entrée d'air linéaire en partie basse et une sortie d'air ponctuelle en faîtage (châtière ou ouvertures en pignon). La ventilation par ouvertures en pignon nécessite la création au faîtage d'un espace libre sous les chevrons de 50 cm minimum (Figure 109b).
Dans tous les cas, les ouvertures en pignons ne pourront être utilisées que si la distance entre les murs est inférieure ou égale à 12 m et pour autant qu'il n'y ait pas d'écran entre les deux murs.
Pour tous les cas, la section totale des orifices étant répartie par moitié en partie haute et basse.
On réservera entre le dessous du support de la couverture et le dessus de l'isolant un espace à la conception destiné à assurer le libre passage de l'air et dont l'épaisseur minimale est de :
4 cm pour les longueurs de rampant ≤ 12 m ;
6 cm pour les longueurs de rampant > 12 m.
Certains isolants peuvent présenter des possibilités de foisonnement, il y a lieu d'en tenir compte dans le dimensionnement de la lame d'air pour ventilation.
 : Couverture par éléments métalliques en feuilles et longues feuilles en zinc/DTU 40.41 (NF P34-211-1) (septembre 2004)/image/fig_AIW_1_109.png)
Figure 109 Couverture plane ou cintrée avec faîtage et isolation thermique sous rampant
5.6.4 Cas de couverture cintrée avec isolation thermique sous rampant
Les dispositions du 5.6.3 s'appliquent.
Lorsque la ventilation au faîtage est assurée par des chatières, celles-ci seront disposées de façon à avoir au maximum 3 mètres d'écart entre lignes de chatières de part et d'autre du faîtage (Figure 110).
 : Couverture par éléments métalliques en feuilles et longues feuilles en zinc/DTU 40.41 (NF P34-211-1) (septembre 2004)/image/fig_AIW_1_110.png)
Figure 110 Couverture cintrée sans faîtage
5.6.5 Dispositifs de ventilation
5.6.5.1 aération par chatières
Les chatières sont conformes à la norme NF P 37-410. Elles sont destinées à être posées pour des pentes supérieures ou égales à 5 %.
L'ouverture pratiquée sur la feuille de zinc de couverture, et destinée à l'aération du comble, comporte tout autour un relevé d'une hauteur de 10 mm quand les chatières sont soudées (sauf sur le devant) et de 30 mm quand elles sont fixées par pattes.
Le relevé intérieur derrière la grille de la chatière doit être positionné de façon à éviter que la pluie ne pénètre directement dans le comble.
Pour le cas des couvertures cintrées, la pente minimum de pose des chatières peut être ramenée à 2,5 % sous réserve des dispositions suivantes :
les chatières sont soudées ;
le relevé autour de l'ouverture de ventilation est de 50 mm minimum.
5.6.5.2 aération linéaire
L'aération linéaire de la sous-face de la couverture s'effectue par une entrée d'air continue à l'égout (Figure 111) et une sortie d'air continue au faîtage (Figures 112, 113, 114, 115 et 116).
Dans le cas de couverture à ressauts, ceux-ci peuvent servir d'entrée et/ou de sortie d'air (Figure 116b).
Des ouvertures en pignon peuvent être réalisées par des grilles ou comme indiqué à la figure 117. Ces techniques peuvent être utilisées avec une entrée d'air continue à l'égout.
Dans le cas de fente, la plus petite dimension des orifices est au minimum de 10 mm. Dans le cas où cette dimension est supérieure à 20 mm, il doit être disposé un grillage à mailles fines destiné à empêcher l'intrusion de petits animaux.
 : Couverture par éléments métalliques en feuilles et longues feuilles en zinc/DTU 40.41 (NF P34-211-1) (septembre 2004)/image/fig_AIW_1_111.png)
Figure 111 Entrée d'air à l'égout
 : Couverture par éléments métalliques en feuilles et longues feuilles en zinc/DTU 40.41 (NF P34-211-1) (septembre 2004)/image/fig_AIW_1_112.png)
Figure 112 Sortie d'air continue au faîtage
 : Couverture par éléments métalliques en feuilles et longues feuilles en zinc/DTU 40.41 (NF P34-211-1) (septembre 2004)/image/fig_AIW_1_113.png)
Figure 113 Sortie d'air continue en faîtage adossé
 : Couverture par éléments métalliques en feuilles et longues feuilles en zinc/DTU 40.41 (NF P34-211-1) (septembre 2004)/image/fig_AIW_1_114.png)
Figure 114 Sortie d'air continue au faîtage par chéneau
 : Couverture par éléments métalliques en feuilles et longues feuilles en zinc/DTU 40.41 (NF P34-211-1) (septembre 2004)/image/fig_AIW_1_115.png)
Figure 115 Sortie d'air continue au faîtage d'une toiture monopente
 : Couverture par éléments métalliques en feuilles et longues feuilles en zinc/DTU 40.41 (NF P34-211-1) (septembre 2004)/image/fig_AIW_1_116.png)
Figure 116 Entrée ou sortie d'air avec ressaut
 : Couverture par éléments métalliques en feuilles et longues feuilles en zinc/DTU 40.41 (NF P34-211-1) (septembre 2004)/image/fig_AIW_1_117.png)
Figure 117 Ouvertures en pignon dans la saillie de rive